Sáng chế bản lề chống cháy của Hàn Quốc (Korea)
Sáng chế bản lề chống cháy của Hàn Quốc (Korea)
Theo sáng chế , tình trạng cháy bên trong cửa chớp chống cháy có thể được xác định bằng mắt thường có thể ngăn ngừa mất mạng trước , để ngăn chặn hoàn toàn sức nóng bức xạ của đám cháy có thể ngăn chặn dẫn đến hành lang hoặc không gian trong nhà khác trong Đặc biệt , nó có lợi thế của việc cải thiện an toàn chẳng hạn như sự tiện lợi trong sử dụng như chữa cháy nhanh và giảm tai nạn an toàn do bất cẩn, bằng cách mở và đóng cửa thuận tiện hơn trong trường hợp có hỏa hoạn với một cấu hình đơn giản .
Sự đổi mới chủ đề liên quan đến màn trập phòng cháy chữa cháy kiểu phối cảnh , và đặc biệt hơn, có thể xác định trực quan trạng thái cháy bên trong màn trập phòng cháy chữa cháy có thể ngăn ngừa mất mạng trước , đối với màn trập chống cháy kiểu phối cảnh có thể được sử dụng chỉ bằng cách mở và đóng Đó là về .
Nói chung, trong trường hợp hỏa hoạn trong căn hộ , văn phòng , nhà ở nhiều gia đình , tòa nhà , căn hộ kiểu nhà máy , văn phòng, v.v. , được thiết kế như những tòa nhà cao tầng để có giá trị sử dụng tối đa trên vùng đất hạn chế, đó là một biện pháp để ngăn chặn sự mất mát lớn của cuộc sống bằng cách ngăn chặn sự lan truyền và truyền lửa. Cửa chớp chữa cháy đang được sử dụng .
Tuy nhiên , để ngăn chặn sự lan truyền ngọn lửa càng nhiều càng tốt , cửa chớp lửa thông thường được lắp đặt trên lối đi phải đối mặt với hướng ngược lại, đó là , vì màn trập lửa được làm nóng trong trường hợp hỏa hoạn ở bên trong, nó có thể gây mất mạng do bỏng, v.v. Có một vấn đề với việc nhập khẩu .
Để giải quyết các vấn đề trên và có cửa sổ phòng cháy chữa cháy trong số lượng lớn các đơn vị sắt hình thành cửa chớp phòng cháy để cho phép quan sát bên trong trong trường hợp hỏa hoạn ở bên ngoài, nhưng để giảm sự mất mát , khi thực tế, cửa sổ phòng cháy chữa cháy Khói này bị khói đen v.v. , khiến không thể phân biệt được từ bên ngoài và gây ra sự lan truyền của lửa, như đốt các vật liệu dễ cháy trong hành lang hoặc các không gian trong nhà khác gần cửa sổ che chắn lửa bằng cách tỏa nhiệt qua cửa sổ kính. Nó ngụ ý nguy hiểm .
Mô hình công nghệ tiện ích Mô tả
Việc cải tiến chủ đề đã được thực hiện khi xem xét các vấn đề nêu trên , một mục tiêu của thiết kế hiện tại là để tránh mất mạng trước, có thể xác định trực quan tình trạng cháy bên trong cửa chớp chữa cháy , chặn hoàn toàn sức nóng của ngọn lửa, để ngăn chặn cảm ứng vào hành lang hoặc các không gian trong nhà khác. trong đó , nó cung cấp một quan điểm chống cháy màn trập có thể cải thiện sự tiện lợi và an toàn trong sử dụng như chữa cháy nhanh chóng thêm mở rõ ràng và đóng cửa để quan sát bên trong trong trường hợp hỏa hoạn. đã sử dụng .
Cấu hình của sự đổi mới chủ đề cho việc đạt được các đối tượng trên được , cửa khẩn cấp ở một bên cung cấp bởi một đa số bản lề , và bao gồm một cửa sổ phòng cháy chữa cháy quy định tại các cửa khẩn cấp , theo một số đơn vị sắt được bản lề hình thành phòng cháy chữa cháy màn trập , được ghép với một bề mặt bên trong của đơn vị thép tấm , và lỗ giao tiếp được hình thành để giao tiếp với một lỗ xuyên qua được hình thành trong các đơn vị tấm sắt ở cả hai bên , trường hợp bên trong của rỗng được ghép với cửa sổ kính chống cháy với một khung cố định ; Vì vậy, để mở và đóng bề mặt ngoại vi bên ngoài của cửa sổ kính chống cháy trong phần bên trong của vỏ trượt trong khi kéo , đầu ra " c " bao gồm một nắp trượt của loại và , kéo nắp trượt , trong cửa chớp chống cháy được nhả ra , trong đó cửa sổ kính chống cháy ở bên ngoài bị chặn Nó được đặc trưng ở chỗ một màng chắn chống cháy được cung cấp ở một bên của bề mặt chu vi bên ngoài để can thiệp vào bề mặt bên trong của tấm bảo vệ trượt .
Sau đây , với tham chiếu đến các bản vẽ đi kèm sẽ được mô tả chi tiết màn trập chống cháy loại phối cảnh của sáng chế .
Hình 1 là sơ đồ pha được thể hiện trạng thái sử dụng cửa chớp chống cháy kiểu phối cảnh theo sáng chế ,
Hình 1)

Hình 2 là sơ đồ trạng thái thể hiện trạng thái lắp của vỏ và tấm bảo vệ trượt được trang bị cửa sổ chống cháy theo sáng chế ,
Hình 2)

Hình 3 là một mặt cắt ngang cho thấy một cửa sổ kính lửa được gắn trên màn trập lửa theo sáng chế ,
Hình 3)

Hình 4 là sơ đồ trạng thái hiển thị cửa sổ kính chống cháy theo sáng chế ,
Hình 4)

Hình 5a là sơ đồ trạng thái hiển thị cửa sổ kính chống cháy ở trạng thái trong đó tấm bảo vệ trượt theo sáng chế được rút lại ,
Hình 5a)

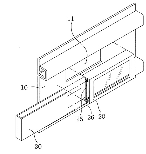
FIG 1 đến 5B , như minh họa trong , màn trập quan điểm kiểu phòng cháy chữa cháy theo sáng chế bao gồm một đa số đơn vị thép tấm 10 là bản lề để được hình thành trong sự kết hợp , một cửa khẩn cấp được cài đặt bởi một đa số bản lề ở một bên (15) và , trong đó Nó bao gồm một cửa sổ kính lửa (25) được cài đặt trên cửa khẩn cấp (15) .
Và trong đó cho biết các đơn vị thép tấm là thành phần thiết yếu của trường hợp đổi mới chủ đề (10) trong phần rỗng được ghép với bề mặt bên trong của (20) với , vỏ 20 được kéo vào bên trong , một nắp trượt có đầu ra (30) bao gồm: a Trở thành .
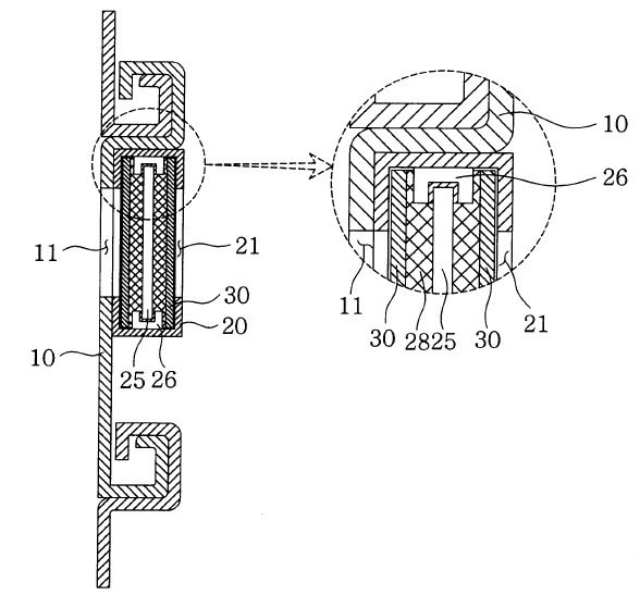
Tại thời điểm này , trường hợp 20 là đơn vị thép tấm ở cả hai mặt 10, lỗ xuyên được hình thành ở 11, lỗ liên lạc để liên lạc đến 21 được hình thành , trong đó cửa sổ phòng cháy chữa cháy bên trong rỗng 25, khung cố định (26 ) kết hợp là , nắp trượt 30 mà cửa sổ kính chống cháy 25 và vỏ để mở và đóng bề mặt ngoại vi bên ngoài 20 và cửa sổ chống cháy (25) trong khi trượt trên khoảng trống giữa cửa vào , được tạo thành " c " ở dạng Trở thành .
Do đó , khi xảy ra hỏa hoạn bên trong cửa chớp , người dùng trượt tấm bảo vệ trượt 30 sang trái hoặc phải để quan sát tình huống bên trong qua cửa sổ kính chống cháy 25, sau đó dập tắt đám cháy một cách thích hợp cho tình huống bên trong. Bạn có thể làm điều đó .
Mặt khác , nắp trượt 30 mà vỏ 20 được rút ra , nếu đầu ra , nắp trượt 30 để ngăn khe hở được hình thành theo chuyển động trượt của khe hở đó hoặc cháy bên trong thoát ra bên ngoài chống cháy Tốt nhất là phim chặn lửa 28 được cung cấp trên một bề mặt chu vi ngoài của cửa sổ kính chống cháy 25 để chặn bên trong và bên ngoài cửa trập để cản trở bề mặt bên trong của tấm bảo vệ trượt 30 .
Ngoài ra , một bao bì chống cháy hoặc tương tự được chèn vào giữa cửa sổ kính chống cháy 25 và khung cố định 26 để nhiệt không thoát ra bên ngoài và khung cố định 26 được hàn vào bên trong vỏ 20 . Nó được ưa thích để kết hợp .
Nhìn vào các hoạt động và ảnh hưởng của sự đổi mới đối tượng cấu hình như trên , các đơn vị phòng cháy chữa cháy chụp tấm sắt (10) thông qua lỗ hình thành trong 11 trường hợp được trình bày trong giao tiếp với 20 sikidoe kết hợp , cho biết trường hợp (20) cửa sổ phòng cháy chữa cháy trên bên trong ( 25) và tấm bảo vệ trượt (30) được ghép với đơn vị tấm sắt (10) ở trạng thái liên kết trước .
Khi xảy ra hỏa hoạn trong phòng ở trạng thái được mô tả ở trên, cửa chớp chống cháy được hạ xuống để ngăn chặn sự lan truyền của đám cháy . Lúc này , tấm bảo vệ trượt 30 được kéo ra qua trường hợp 20 được cung cấp trên tấm sắt 10. Cửa sổ phòng cháy chữa cháy ở trạng thái (25) và có thể che phủ , trong khi chữa cháy, cửa sổ phòng cháy chữa cháy (25) che phủ bề mặt ngoại vi bên ngoài 30 đẩy phía bên trái hoặc bên phải của bên trong sau khi cháy Và sau đó tiến hành quá trình chữa cháy .
Trong trường hợp này , nắp trượt 30 của cửa sổ phòng cháy chữa cháy (25) có thể quan sát bên trong rõ hơn vì điều này ngăn Lee bị cháy xém , trong một thời gian ngắn trong điều kiện an toàn hơn so với lính cứu hỏa Có thể dập tắt đám cháy để giảm thiểu thiệt hại về người và tài sản .
Như đã mô tả ở trên , không nên hiểu phương án của sáng chế được minh họa trong các bản vẽ là hạn chế ý tưởng kỹ thuật của sáng chế . Phạm vi bảo vệ của công cuộc đổi mới chủ đề được giới hạn bởi các mặt hàng được mô tả trong những tuyên bố , và một người có hiểu biết trung bình trong lĩnh vực kỹ thuật của sự đổi mới chủ đề có thể cải thiện và sửa đổi theo tinh thần kỹ thuật của sáng tạo đối tượng trong các hình thức khác nhau . Do đó, những cải tiến và sửa đổi như vậy sẽ nằm trong phạm vi bảo vệ của sáng chế miễn là nó rõ ràng đối với những người có kỹ năng trong nghệ thuật .
Nhà phát minh : Choi Heon
Theo sáng chế , tình trạng cháy bên trong cửa chớp chống cháy có thể được xác định bằng mắt thường có thể ngăn ngừa mất mạng trước , để ngăn chặn hoàn toàn sức nóng bức xạ của đám cháy có thể ngăn chặn dẫn đến hành lang hoặc không gian trong nhà khác trong Đặc biệt , nó có lợi thế của việc cải thiện an toàn chẳng hạn như sự tiện lợi trong sử dụng như chữa cháy nhanh và giảm tai nạn an toàn do bất cẩn, bằng cách mở và đóng cửa thuận tiện hơn trong trường hợp có hỏa hoạn với một cấu hình đơn giản .
Sự đổi mới chủ đề liên quan đến màn trập phòng cháy chữa cháy kiểu phối cảnh , và đặc biệt hơn, có thể xác định trực quan trạng thái cháy bên trong màn trập phòng cháy chữa cháy có thể ngăn ngừa mất mạng trước , đối với màn trập chống cháy kiểu phối cảnh có thể được sử dụng chỉ bằng cách mở và đóng Đó là về .
Nói chung, trong trường hợp hỏa hoạn trong căn hộ , văn phòng , nhà ở nhiều gia đình , tòa nhà , căn hộ kiểu nhà máy , văn phòng, v.v. , được thiết kế như những tòa nhà cao tầng để có giá trị sử dụng tối đa trên vùng đất hạn chế, đó là một biện pháp để ngăn chặn sự mất mát lớn của cuộc sống bằng cách ngăn chặn sự lan truyền và truyền lửa. Cửa chớp chữa cháy đang được sử dụng .
Tuy nhiên , để ngăn chặn sự lan truyền ngọn lửa càng nhiều càng tốt , cửa chớp lửa thông thường được lắp đặt trên lối đi phải đối mặt với hướng ngược lại, đó là , vì màn trập lửa được làm nóng trong trường hợp hỏa hoạn ở bên trong, nó có thể gây mất mạng do bỏng, v.v. Có một vấn đề với việc nhập khẩu .
Để giải quyết các vấn đề trên và có cửa sổ phòng cháy chữa cháy trong số lượng lớn các đơn vị sắt hình thành cửa chớp phòng cháy để cho phép quan sát bên trong trong trường hợp hỏa hoạn ở bên ngoài, nhưng để giảm sự mất mát , khi thực tế, cửa sổ phòng cháy chữa cháy Khói này bị khói đen v.v. , khiến không thể phân biệt được từ bên ngoài và gây ra sự lan truyền của lửa, như đốt các vật liệu dễ cháy trong hành lang hoặc các không gian trong nhà khác gần cửa sổ che chắn lửa bằng cách tỏa nhiệt qua cửa sổ kính. Nó ngụ ý nguy hiểm .
Mô hình công nghệ tiện ích Mô tả
Việc cải tiến chủ đề đã được thực hiện khi xem xét các vấn đề nêu trên , một mục tiêu của thiết kế hiện tại là để tránh mất mạng trước, có thể xác định trực quan tình trạng cháy bên trong cửa chớp chữa cháy , chặn hoàn toàn sức nóng của ngọn lửa, để ngăn chặn cảm ứng vào hành lang hoặc các không gian trong nhà khác. trong đó , nó cung cấp một quan điểm chống cháy màn trập có thể cải thiện sự tiện lợi và an toàn trong sử dụng như chữa cháy nhanh chóng thêm mở rõ ràng và đóng cửa để quan sát bên trong trong trường hợp hỏa hoạn. đã sử dụng .
Cấu hình của sự đổi mới chủ đề cho việc đạt được các đối tượng trên được , cửa khẩn cấp ở một bên cung cấp bởi một đa số bản lề , và bao gồm một cửa sổ phòng cháy chữa cháy quy định tại các cửa khẩn cấp , theo một số đơn vị sắt được bản lề hình thành phòng cháy chữa cháy màn trập , được ghép với một bề mặt bên trong của đơn vị thép tấm , và lỗ giao tiếp được hình thành để giao tiếp với một lỗ xuyên qua được hình thành trong các đơn vị tấm sắt ở cả hai bên , trường hợp bên trong của rỗng được ghép với cửa sổ kính chống cháy với một khung cố định ; Vì vậy, để mở và đóng bề mặt ngoại vi bên ngoài của cửa sổ kính chống cháy trong phần bên trong của vỏ trượt trong khi kéo , đầu ra " c " bao gồm một nắp trượt của loại và , kéo nắp trượt , trong cửa chớp chống cháy được nhả ra , trong đó cửa sổ kính chống cháy ở bên ngoài bị chặn Nó được đặc trưng ở chỗ một màng chắn chống cháy được cung cấp ở một bên của bề mặt chu vi bên ngoài để can thiệp vào bề mặt bên trong của tấm bảo vệ trượt .
Sau đây , với tham chiếu đến các bản vẽ đi kèm sẽ được mô tả chi tiết màn trập chống cháy loại phối cảnh của sáng chế .
Hình 1 là sơ đồ pha được thể hiện trạng thái sử dụng cửa chớp chống cháy kiểu phối cảnh theo sáng chế ,
Hình 1)

Hình 2 là sơ đồ trạng thái thể hiện trạng thái lắp của vỏ và tấm bảo vệ trượt được trang bị cửa sổ chống cháy theo sáng chế ,
Hình 2)

Hình 3 là một mặt cắt ngang cho thấy một cửa sổ kính lửa được gắn trên màn trập lửa theo sáng chế ,
Hình 3)

Hình 4 là sơ đồ trạng thái hiển thị cửa sổ kính chống cháy theo sáng chế ,
Hình 4)

Hình 5a là sơ đồ trạng thái hiển thị cửa sổ kính chống cháy ở trạng thái trong đó tấm bảo vệ trượt theo sáng chế được rút lại ,
Hình 5a)

FIG 1 đến 5B , như minh họa trong , màn trập quan điểm kiểu phòng cháy chữa cháy theo sáng chế bao gồm một đa số đơn vị thép tấm 10 là bản lề để được hình thành trong sự kết hợp , một cửa khẩn cấp được cài đặt bởi một đa số bản lề ở một bên (15) và , trong đó Nó bao gồm một cửa sổ kính lửa (25) được cài đặt trên cửa khẩn cấp (15) .
Và trong đó cho biết các đơn vị thép tấm là thành phần thiết yếu của trường hợp đổi mới chủ đề (10) trong phần rỗng được ghép với bề mặt bên trong của (20) với , vỏ 20 được kéo vào bên trong , một nắp trượt có đầu ra (30) bao gồm: a Trở thành .
Tại thời điểm này , trường hợp 20 là đơn vị thép tấm ở cả hai mặt 10, lỗ xuyên được hình thành ở 11, lỗ liên lạc để liên lạc đến 21 được hình thành , trong đó cửa sổ phòng cháy chữa cháy bên trong rỗng 25, khung cố định (26 ) kết hợp là , nắp trượt 30 mà cửa sổ kính chống cháy 25 và vỏ để mở và đóng bề mặt ngoại vi bên ngoài 20 và cửa sổ chống cháy (25) trong khi trượt trên khoảng trống giữa cửa vào , được tạo thành " c " ở dạng Trở thành .
Do đó , khi xảy ra hỏa hoạn bên trong cửa chớp , người dùng trượt tấm bảo vệ trượt 30 sang trái hoặc phải để quan sát tình huống bên trong qua cửa sổ kính chống cháy 25, sau đó dập tắt đám cháy một cách thích hợp cho tình huống bên trong. Bạn có thể làm điều đó .
Mặt khác , nắp trượt 30 mà vỏ 20 được rút ra , nếu đầu ra , nắp trượt 30 để ngăn khe hở được hình thành theo chuyển động trượt của khe hở đó hoặc cháy bên trong thoát ra bên ngoài chống cháy Tốt nhất là phim chặn lửa 28 được cung cấp trên một bề mặt chu vi ngoài của cửa sổ kính chống cháy 25 để chặn bên trong và bên ngoài cửa trập để cản trở bề mặt bên trong của tấm bảo vệ trượt 30 .
Ngoài ra , một bao bì chống cháy hoặc tương tự được chèn vào giữa cửa sổ kính chống cháy 25 và khung cố định 26 để nhiệt không thoát ra bên ngoài và khung cố định 26 được hàn vào bên trong vỏ 20 . Nó được ưa thích để kết hợp .
Nhìn vào các hoạt động và ảnh hưởng của sự đổi mới đối tượng cấu hình như trên , các đơn vị phòng cháy chữa cháy chụp tấm sắt (10) thông qua lỗ hình thành trong 11 trường hợp được trình bày trong giao tiếp với 20 sikidoe kết hợp , cho biết trường hợp (20) cửa sổ phòng cháy chữa cháy trên bên trong ( 25) và tấm bảo vệ trượt (30) được ghép với đơn vị tấm sắt (10) ở trạng thái liên kết trước .
Khi xảy ra hỏa hoạn trong phòng ở trạng thái được mô tả ở trên, cửa chớp chống cháy được hạ xuống để ngăn chặn sự lan truyền của đám cháy . Lúc này , tấm bảo vệ trượt 30 được kéo ra qua trường hợp 20 được cung cấp trên tấm sắt 10. Cửa sổ phòng cháy chữa cháy ở trạng thái (25) và có thể che phủ , trong khi chữa cháy, cửa sổ phòng cháy chữa cháy (25) che phủ bề mặt ngoại vi bên ngoài 30 đẩy phía bên trái hoặc bên phải của bên trong sau khi cháy Và sau đó tiến hành quá trình chữa cháy .
Trong trường hợp này , nắp trượt 30 của cửa sổ phòng cháy chữa cháy (25) có thể quan sát bên trong rõ hơn vì điều này ngăn Lee bị cháy xém , trong một thời gian ngắn trong điều kiện an toàn hơn so với lính cứu hỏa Có thể dập tắt đám cháy để giảm thiểu thiệt hại về người và tài sản .
Như đã mô tả ở trên , không nên hiểu phương án của sáng chế được minh họa trong các bản vẽ là hạn chế ý tưởng kỹ thuật của sáng chế . Phạm vi bảo vệ của công cuộc đổi mới chủ đề được giới hạn bởi các mặt hàng được mô tả trong những tuyên bố , và một người có hiểu biết trung bình trong lĩnh vực kỹ thuật của sự đổi mới chủ đề có thể cải thiện và sửa đổi theo tinh thần kỹ thuật của sáng tạo đối tượng trong các hình thức khác nhau . Do đó, những cải tiến và sửa đổi như vậy sẽ nằm trong phạm vi bảo vệ của sáng chế miễn là nó rõ ràng đối với những người có kỹ năng trong nghệ thuật .
Nhà phát minh : Choi Heon
Bài viết khác
- Hướng dẫn sửa chữa cửa cuốn EXIT đến từ Korea( Hàn Quốc)
- Cửa cuốn ngăn cháy E120, cách nhiệt EI60 lắp đặt ở đâu
- Cửa sập chống cháy E120, cách nhiệt EI60
- Cửa cuốn chống cháy ( Fire shutter door korea )
- Cửa cuốn song ngang sắt sơn tĩnh điện
- Cửa cuốn siêu trường rộng 12 m
- Cửa cuốn chống cháy E, EI giá rẻ
- Lắp cửa cuốn song ngang
