Thử nghiệm khả năng chịu lửa, cửa đi và cửa chắn ngăn cháy
TIÊU CHUẨN QUỐC GIA
TCVN 9383:2012
THỬ NGHIỆM KHẢ NĂNG CHỊU LỬA - CỬA ĐI VÀ CỬA CHẮN NGĂN CHÁY
Fire resistance test - Fire door and Shutter Assemblies
Lời nói đầu
TCVN 9383:2012 được chuyển đổi từ TCXDVN 386:2007 thành Tiêu chuẩn Quốc gia theo quy định tại khoản 1 Điều 69 của Luật Tiêu chuẩn và Quy chuẩn kỹ thuật và điểm b khoản 2 Điều 7 Nghị định số 127/2007/NĐ-CP ngày 01/8/2007 của Chính phủ quy định chi tiết thi hành một số điều của Luật Tiêu chuẩn và Quy chuẩn kỹ thuật.
TCVN 9383:2012 do Viện Khoa học Công nghệ Xây dựng - Bộ Xây dựng biên soạn, Bộ Xây dựng đề nghị, Tổng cục Tiêu chuẩn Đo lường Chất lượng thẩm định, Bộ Khoa học và Công nghệ công bố.
HỬ NGHIỆM KHẢ NĂNG CHỊU LỬA - CỬA ĐI VÀ CỬA CHẮN NGĂN CHÁY
Fire resistance test - Fire door and Shutter Assemblies
1 Phạm vi áp dụng
Tiêu chuẩn này mô tả phương pháp thử nghiệm xác định khả năng chịu lửa của các loại cửa như cửa đi, cửa chắn, cửa sổ,… được thiết kế để lắp đặt trong các ô cửa nằm trong bộ phận ngăn cách theo phương thẳng đứng có yêu cầu về khả năng chịu lửa. Cụ thể gồm các dạng cửa sau (xem hình minh họa trong Phụ lục D):
- Cửa bản lề và cửa xoay theo trục đứng;
- Cửa trượt theo phương ngang, cửa trượt theo phương đứng, cửa toàn mảng;
- Cửa chắn dạng sắt xếp có 1 lớp vỏ bằng kim loại, không cách nhiệt;
- Cửa trượt có cánh gấp;
- Cửa mở lật;
- Cửa cuốn.
Có thể áp dụng tiêu chuẩn này để thử nghiệm khả năng chịu lửa của một số loại cửa ra vào dùng cho thang máy.
2 Tài liệu viện dẫn
TCVN 9311:2012, Thử nghiệm khả năng chịu lửa của vật liệu và kết cấu - Phần 1: Yêu cầu chung
BS EN 1634-1:2000, Fire resistance tests for door and shutter assemblies - Part 1: Fire door and shutter (Thử nghiệm khả năng chịu lửa của cửa đi và cửa chắn - Phần 1 Cửa đi và cửa chắn ngăn cháy)
EN 1363-2:1999, Fire resistance tests - Part 2 Alternative and additional procedures (Thử nghiệm khả năng chịu lửa - Phần 2: Những quy trình thử nghiệm bổ sung và thay thế).
EN ISO 13943, Fire safety - Vocabulary (An toàn cháy - Từ vựng)
3 Thuật ngữ và định nghĩa
Các thuật ngữ và định nghĩa nêu trong ISO/DIS 13943, TCVN 9311:2012 cũng như các thuật ngữ và định nghĩa dưới đây được áp dụng trong tiêu chuẩn này:
3.1
Cửa đi hoặc cửa chắn (Door or shutter assembly)
Là một cụm hoàn chỉnh bao gồm tất cả các bộ phận như khuôn hoặc thanh dẫn hướng, bản cánh cửa, tấm cửa cuốn hoặc tấm cửa xếp, v.v, dùng để chắn kín các ô cửa trong những bộ phận ngăn cách. Các cửa này còn phải có đầy đủ các chi tiết khác, nếu được sử dụng trong thực tế như các tấm bịt cố định cạnh cửa, tấm kính quan sát hoặc tấm bịt cố định cố định phía trên, cùng tất cả các phụ kiên của cửa kể cả chi tiết gioăng bịt (dùng để ngăn cản lửa hoặc khói hay dùng cho những mục đích khác như thông gió hoặc cách âm).
Để mô tả cửa với đầy đủ các bộ phận và chi tiết như trên, trong tiêu chuẩn còn sử dụng thuật ngữ "Cụm cửa"
3.2
Phụ kiện cửa (Door hardware)
Là những chi tiết như bản lề, tay cầm, khóa, thanh kéo mở khẩn cấp, nắp che ổ khóa, tấm gắn chữ, tấm đẩy cửa, bộ phận trượt, thiết bị đóng mở, bộ phận điện, dây dẫn, v.v. có thể được lắp hoặc phải lắp vào cụm cửa.
3.3
Mở về một phía (Single action)
Mở về duy nhất một phía của cánh cửa.
3.4
Mở về hai phía (Double action)
Mở theo cả hai phía của cánh cửa.
3.5
Gioăng ngăn lửa (Fire seal)
Là gioăng được gắn vào mép của cánh hoặc khuôn cửa với mục đích kéo dài thời gian đảm bảo tính toàn vẹn của cụm cửa khi chịu lửa.
3.6
Gioăng ngăn khói (Smoke seal)
Là gioăng được gắn vào mép của cánh hoặc khuôn cửa với mục đích ngăn cản sự lọt qua của khói hoặc khí nóng.
3.7
Mặt sàn (Floor)
Là bề mặt trên của một bộ phận dùng để mô phỏng sàn nhà, đặt nằm ngang phía dưới cụm cửa được thử nghiệm. Mặt sàn phải kéo liên tục từ bề mặt không tiếp xúc với lửa sang bề mặt tiếp xúc với lửa của cụm cửa.
3.8
Thanh bậu cửa (Cill)
Là bộ phận nối ở phía dưới hai thanh khuôn dọc của cửa, thanh này có thể được đặt kín trong sàn hoặc để lộ trên sàn và nhìn thấy được.
3.9
Khe hở (Gap)
Là khoảng thông giữa hai bề mặt hoặc mép quy ước kề nhau, ví dụ giữa mép của cánh cửa và hèm của khuôn (xem thêm ví dụ từ Hình 9 đến Hình 12).
3.10
Liên kết xuyên (Through connection)
Là chi tiết để cố định hoặc để giữ khoảng cách, chạy xuyên từ mặt này qua mặt kia của cấu trúc cửa hoặc gắn kết trực tiếp hai bề mặt cửa với nhau.
3.11
Kết cấu gá đỡ tiêu chuẩn (Standard supporting construction)
Là một dạng kết cấu được sử dụng để gá đỡ cụm cửa thử nghiệm và đậy kín miệng lò đốt. Kết cấu gá đỡ tiêu chuẩn phải có khả năng chịu lửa cần thiết và ảnh hưởng của nó đến cụm cửa trong quá trình thử nghiệm phải được đánh giá.
3.12
Kết cấu gá đỡ thực tế (Associated supporting construction)
Là một kết cấu cụ thể mà trong thực tế cụm cửa thử nghiệm được lắp đặt vào. Nó cũng được sử dụng để đậy kín miệng lò và có khả năng nhất định về chịu giãn nở nhiệt cũng như ngăn cản sự truyền nhiệt có thể xảy ra trong thực tế.
3.13
Mẫu thử nghiệm (Test specimen)
Là một cụm cửa đi hoặc cửa chắn được lắp đặt trong kết cấu gá đỡ tiêu chuẩn hoặc kết cấu gá đỡ thực tế cho phép có thể tiến hành thử nghiệm.
3.14
Thanh đố ngang (Transom)
Là một thanh chạy ngang nối từ thanh khuôn dọc này sang thanh khuôn dọc kia và nằm sát mép trên cùng của tấm cánh cửa để phân cách tấm cánh cửa với Tấm bịt cố định phía trên (Hình 24).
3.15
Tấm bịt cố định phía trên (Transom panel)
Là một tấm cố định đặt phía trên của cửa, các cạnh được bao quanh bởi các bộ phận là thanh khuôn ngang trên cùng, các thanh khuôn dọc và thanh đố ngang (Hình 24, Hình 27).
3.16
Tấm cánh giả phía trên (Flush over panel)
Là một tấm nằm phía trên của tấm cửa, được cố định vào giữa thanh khuôn ngang trên cùng và hai thanh khuôn dọc, không có thanh đố ngang. Tấm này có chiều dày và hình thức bên ngoài giống hệt tấm cửa (Hình 23).
3.17
Tấm bịt cố định cạnh cửa (Side panel)
Là một tấm cố định gắn vào một bên của cửa và là một phần của mẫu thử nghiệm (Hình 27).
3.18
Tấm cửa chính (Primary leaf)
Là tấm cánh cửa lớn nhất hoặc có gắn tay nắm, được coi là tấm cửa có hoạt động chủ đạo trong một cụm cửa nhiều cánh. Nếu các tấm cánh của cụm cửa nhiều cánh có kích thước như nhau và tất cả đều có tay nắm (hoặc những phụ kiện khác, ví dụ: tấm chạm đẩy cửa) thì cụm cửa đó được coi là không có tấm cửa chính.
4 Thiết bị thử nghiệm
Các thiết bị thử nghiệm phải phù hợp với những yêu cầu nêu ra trong TCVN 9311:2012 và nếu có yêu cầu bổ sung khác thì còn phải phù hợp với tiêu chuẩn EN 1363-2:1999
5 Yêu cầu với công tác thử nghiệm
5.1 Điều kiện thử nghiệm
Các điều kiện về gia tăng nhiệt và áp lực cũng như áp suất khí trong lò thử nghiệm phải tuân thủ những yêu cầu nêu ra trong TCVN 9311:2012, nếu có yêu cầu bổ sung khác thì còn phải phù hợp với tiêu chuẩn EN 1363-2:1999
5.2 Yêu cầu về an toàn thử nghiệm
Mọi cá nhân hay tổ chức quản lý hay triển khai thử nghiệm theo tiêu chuẩn này cần chú ý, đây là dạng thử nghiệm cháy thường có các yếu tố nguy hiểm như khả năng sinh khói lẫn khí độc. Mặt khác, do kích thước và trọng lượng mẫu thường lớn, vấn đề an toàn cho người và thiết bị trong quá trình chế tạo mẫu và tiến hành thử nghiệm cần được quan tâm chặt chẽ.
Trước khi tiến hành thử nghiệm phải có đánh giá về các yếu tố rủi ro và tính nguy hiểm đối với sức khỏe con người để đưa ra những chỉ dẫn về an toàn cho toàn bộ công tác thử nghiệm. Cần có bản chỉ dẫn an toàn thử nghiệm. Ngoài ra cũng cần có chương trình tập huấn thích hợp cho các cá nhân có liên quan đến công tác thử nghiệm. Nhân viên của phòng thử nghiệm phải tuân thủ đúng nhưng điều trong bản chỉ dẫn an toàn thử nghiệm tại mọi thời điểm.
6 Mẫu thử nghiệm
6.1 Kích cỡ
Mẫu thử nghiệm và mọi bộ phận thuộc mẫu phải có kích thước giống như thực tế, trừ khi bị hạn chế bởi kích thước của miệng lò (thông thường kích thước miệng lò thử nghiệm là 3 m x 3 m). Nếu các cụm cửa không được thử nghiệm bằng kích thước thực thì phải thử nghiệm với kích thước lớn nhất có thể được, theo quy định trong 7.2.3.
6.2 Số lượng
Số lượng mẫu thử nghiệm phải đảm bảo theo yêu cầu nêu ra trong TCVN 9311:2012. Nếu thử nghiệm chỉ được tiến hành trên một phía, do nguyên nhân cụm cửa có cấu tạo đối xứng hoặc do loại cửa cần thử nghiệm chỉ yêu cầu chịu lửa trên một mặt nhất định, thì những điều này phải được ghi cụ thể vào báo cáo.
6.3 Thiết kế
Để có được phạm vi ứng dụng kết quả thử nghiệm rộng nhất, khi thiết kế mẫu thử nghiệm và lựa chọn kết cấu gá đỡ phải dựa trên những yêu cầu nêu trong 13.
Người đặt hàng thử nghiệm phải cung cấp cho phòng thử nghiệm các trị số khe hở theo thiết kế (xem 3.9), kể cả các giá trị dung sai.
Với những cụm cửa có lắp các Tấm bịt cố định cạnh cửa, Tấm cánh giả phía trên hoặc Tấm bịt cố định phía trên, có kính hay không có kính, thì những bộ phận này phải được thử nghiệm như một phần của cụm cửa. Tấm bịt cố định cạnh cửa luôn phải đặt ở bên có lắp bộ phận chốt cửa.
Mẫu thử nghiệm phải đại diện hoàn toàn cho các cụm cửa dự định sử dụng trong thực tế, bao gồm tất cả các lớp hoàn thiện bề mặt cũng như các chi tiết lắp đặt không thể thiếu của mẫu và có thể ảnh hưởng đến sự làm việc của mẫu trong quá trình thử nghiệm.
6.4 Chế tạo mẫu
Mẫu thử nghiệm phải được chế tạo tuân thủ theo các yêu cầu nêu ra trong TCVN 9311:2012.
6.5 Kiểm tra, xác nhận
Người đặt hàng thử nghiệm phải đưa ra các chỉ tiêu kỹ thuật đầu vào về cấu tạo của mẫu để phòng thử nghiệm tiến hành kiểm tra và xác nhận trước khi tiến hành thử nghiệm. Những hướng dẫn chi tiết về công tác kiểm tra, xác nhận mẫu thử nghiệm được trình bày trong TCVN 9311:2012.
Nếu việc kiểm tra các chỉ tiêu kỹ thuật trên mẫu có thể gây ra khuyết tật hoặc hư hỏng mẫu thử nghiệm và việc kiểm tra các chỉ tiêu kỹ thuật cũng không thể thực hiện được trên mẫu đã qua thử nghiệm, thì:
a) Phòng thử nghiệm cần yêu cầu được kiểm tra trong quá trình chế tạo tại nơi sản xuất của những cụm cửa sẽ được làm thử nghiệm; hoặc
b) Phòng thử nghiệm yêu cầu người đặt hàng thử nghiệm phải cung cấp thêm một bộ mẫu hoặc một phần của cụm mẫu tương tự để kiểm tra riêng, ngoài số lượng mẫu thử nghiệm chịu lửa theo yêu cầu. Mẫu đưa vào làm thử nghiệm được lấy ngẫu nhiên trong số mẫu được gửi đến, những mẫu còn lại được dùng để kiểm tra các chỉ tiêu kỹ thuật đầu vào.
7 Lắp dựng mẫu thử nghiệm
7.1 Nguyên tắc chung
Mẫu thử nghiệm phải được lắp đặt càng giống với cách lắp đặt trong thực tế càng tốt.
Mẫu thử nghiệm phải được lắp đặt trong kết cấu gá đỡ tương tự kết cấu gá đỡ dự kiến được sử dụng trong thực tế. Cấu tạo của liên kết giữa mẫu cửa và kết cấu gá đỡ, bao gồm tất cả các chi tiết đinh vít…, phải giống như cấu tạo được sử dụng trong thực tế và phải được coi là một bộ phận của mẫu thử nghiệm. Khi lắp đặt, bề mặt của cửa, khuôn và bề mặt tiếp xúc với lửa của kết cấu gá đỡ phải nằm trong cùng một mặt phẳng, trừ khi cấu tạo thực tế không cho phép lắp đặt như vậy.
Toàn bộ bề mặt của mẫu thử nghiệm cùng với phần kích thước tối thiểu của kết cấu gá đỡ như nêu trong 7.2.3 phải cùng chịu tác động của điều kiện nhiệt thử nghiệm.
7.2 Kết cấu gá đỡ
7.2.1 Nguyên tắc chung
Khả năng chịu lửa của các loại kết cấu gá đỡ phải được xác định trong một thử nghiệm riêng không cùng với thử nghiệm đốt của cụm lửa. Khả năng chịu lửa đó tối thiểu cũng phải tương đương với khả năng chịu lửa dự kiến của cụm cửa được thử nghiệm.
7.2.2 Kết cấu gá đỡ tiêu chuẩn
Việc sử dụng kết cấu gá đỡ tiêu chuẩn phải đảm bảo phản ánh quá trình sử dụng thông thường trong thực tế của cụm lửa. Nguyên tắc xem xét áp dụng kết quả thử nghiệm mẫu trên kết cấu gá đỡ tiêu chuẩn cho những trường hợp thực tế lắp đặt trên các kết cấu gá đỡ khác tiêu chuẩn được trình bày trong 13.5
Cách lựa chọn kết cấu gá đỡ tiêu chuẩn tuân theo chỉ dẫn trong TCVN 9311:2012.
7.2.3 Lắp dựng kết cấu gá đỡ tiêu chuẩn hoặc các kết cấu gá đỡ thực tế
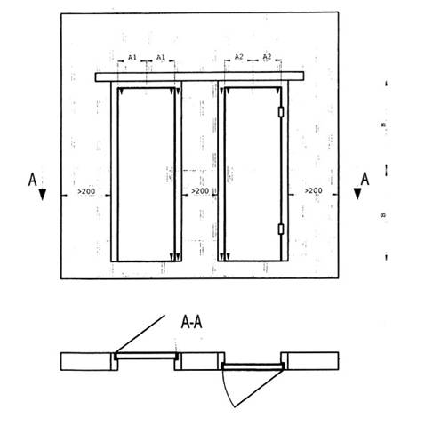
Các kết cấu gá đỡ và hình thức lắp đặt các dạng cửa cần thử nghiệm được minh họa từ Hình 1 đến Hình 8.
Những vách ngăn hoặc tường trong các kết cấu gá đỡ tiêu chuẩn dạng mềm và các kết cấu gá đỡ thực tế, phải được lắp dựng để các biên thẳng đứng của kết cấu gá đỡ có thể cong vênh tự do theo phương vuông góc với mặt phẳng của chúng. Tức là các biên thẳng đứng của kết cấu gá đỡ không bị liên kết ngăn cản cong vênh ngoài mặt phẳng.
Tường trong các kết cấu gá đỡ tiêu chuẩn dạng cứng phải được lắp dựng để các biên thẳng đứng không được cong vênh tự do theo phương vuông góc với mặt phẳng mẫu. Tức là nó phải được cố định vào khung chứa mẫu theo cách thức sẽ sử dụng trong thực tế.
Kết cấu gá đỡ phải được chế tạo trong khung gá mẫu phù hợp với các yêu cầu nêu trong TCVN 9311:2012. Kết cấu gá đỡ phải được chế tạo trước khi cụm mẫu được chèn lắp vào, nhưng phải chừa ra một khoảng có kích thước thích hợp, ngoại trừ trường hợp trong thực tế nó được lắp đặt cùng với cụm cửa bằng các phương pháp cố định theo thiết kế. Ở hai bên và phía trên của ô trống chừa ra để lắp cụm cửa phải có một vùng diện tích thuộc kết cấu gá đỡ với bề rộng tối thiểu là 200 mm phải chịu sự tác động của môi trường nhiệt độ thử nghiệm trong lò. Ngoài phạm vi 200 mm tính từ mép ô trống lắp mẫu có thể tăng chiều dày của kết cấu gá đỡ. Có thể sử dụng kết cấu gá đỡ để thử nghiệm cho nhiều mẫu trong cùng một lần thử nghiệm với điều kiện khoảng cách giữa các mép trong của mẫu cũng như khoảng cách từ mép ngoài các mẫu tới mép của lò đốt đảm bảo lớn hơn hoặc bằng các giá trị nhỏ nhất theo quy định.
Nếu trong thực tế chân của cụm cửa là sàn nhà thì cạnh dưới cùng của ô trống lắp mẫu phải mô phỏng tính liên tục của sàn nhà bằng một tấm vật liệu cứng, không cháy với bề rộng nhỏ nhất đảm bảo khoảng cách tính từ mỗi bề mặt của cụm cửa (có nghĩa là bề mặt tiếp xúc với lửa và bề mặt không tiếp xúc với lửa) ra đến mép tấm là 200 mm. Mặt sàn của lò thử nghiệm cũng có thể được coi là một phần của mặt sàn mô phỏng nếu cao độ của nó bằng với cao độ của cạnh dưới cùng của cụm mẫu thử nghiệm. Nếu cụm cửa có thanh bậu cửa thì nó phải được đặt bên trong hoặc ở mặt trên của phần sàn mô phỏng. Nếu theo thiết kế cụm cửa không được lắp ở cao trình mặt sàn và có khuôn cửa ở cả 4 cạnh của ô trống lắp mẫu thì chỉ cần lắp đặt trong phạm vi chiều dày tường mà không cần có phần sàn mô phỏng.
CHÚ THÍCH: Nếu cụm cửa được thử nghiệm cùng với một sàn mô phỏng bằng vật liệu không cháy sẽ không đại diện được cho trường hợp cửa được lắp đặt phía trên của một sàn làm bằng vật liệu cháy được ví dụ: gỗ hoặc thảm.
7.3 Khe hở
Việc căn chỉnh các tấm cánh cửa và các khe hở phải nằm trong giới hạn cho phép của giá trị thiết kế do người đặt hàng thử nghiệm quy định. Kích thước những khe hở này phải đại diện cho các giá trị sử dụng trong thực tế.
Để kết quả thử nghiệm có phạm vi áp dụng trực tiếp lớn nhất, các khe hở cần phải được điều chỉnh nằm vào khoảng giữa giá trị trung bình và giá trị lớn nhất trong khoảng giá trị về khe hở do người đặt hàng thử nghiệm quy định.
CHÚ THÍCH: 1 - Một cụm cửa có khoảng giá trị về khe hở cho phép khi lắp đặt là 3 mm đến 8 mm thì nên được thử nghiệm với khe hở nằm trong khoảng từ 5.5 mm đến 8 mm.
CHÚ THÍCH: 2 - Ví dụ về việc đo khe hở được trình bày từ Hình 9 đến Hình 12.
CHÚ DẪN:
1- Thanh sườn đứng bằng thép tiết diện C
2- Tấm ốp ngoài dày 12,5 mm
3- Vít cố định bố trí theo khoảng cách 300 mm
Hình 1 - Ví dụ về cấu tạo tiết diện ngang của kết cấu gá đỡ tiêu chuẩn dạng mềm (tham khảo thêm chi tiết trong TCVN 9311:2012)
CHÚ DẪN:
1- Kết cấu gá đỡ tiêu chuẩn (khối tường xây)
2- Cụm cửa (mẫu thử nghiệm)
3- Khung chứa mẫu thử nghiệm
CHÚ THÍCH: Phần 1 và 2 hợp thành kết cấu thử nghiệm
Hình 2 - Ví dụ một cụm cửa được lắp đặt trong kết cấu gá đỡ dạng cứng
CHÚ DẪN:
1- Kết cấu gá đỡ tiêu chuẩn hoặc kết cấu gá đỡ thực tế
2- Cụm cửa (mẫu thử nghiệm)
3- Khung chứa mẫu thử nghiệm
4- Mép tự do được chèn vật liệu cách nhiệt
Hình 3: Ví dụ một cụm cửa được lắp đặt trong kết cấu gá đỡ tiêu chuẩn dạng mềm hoặc kết cấu gá đỡ thực tế
Kích thước tính bằng milimét
CHÚ DẪN:
1- Sàn bằng vật liệu cứng và không cháy được
2- Kết cấu gá đỡ tiêu chuẩn
3- Kết cấu gá đỡ thực tế
4- Mép tự do được chèn vật liệu cách nhiệt
5- Mẫu thử nghiệm
Hình 4 - Ví dụ về mặt cắt ngang khi lắp đặt một số dạng mẫu thử nghiệm là cửa bản lề
Kích thước tính bằng milimét
CHÚ DẪN:
1- Sàn bằng vật liệu cứng và không cháy được
2- Chi tiết thanh văng chân có hèm
3- Mẫu thử nghiệm
4- Kết cấu gá đỡ
5- Khung chứa mẫu
Hình 5 - Ví dụ về mặt cắt dọc khi lắp đặt các mẫu thử nghiệm là cửa bản lề
Kích thước tính bằng milimét
CHÚ THÍCH:
a) Mặt cắt theo phương đứng
b) Mặt cắt theo phương nằm ngang
CHÚ DẪN:
1- Kết cấu gá đỡ
2- Sàn bằng vật liệu cứng và không cháy được
3- Mẫu thử nghiệm
4- Khung chứa mẫu
Hình 6 - Ví dụ về các chi tiết khi lắp đặt mẫu cửa trượt
Kích thước tính bằng milimét
HÚ THÍCH:
a) Mặt cắt theo phương đứng
b) Mặt cắt theo phương nằm ngang
CHÚ DẪN:
1- Kết cấu gá đỡ
2- Sàn bằng vật liệu cứng và không cháy được
3- Mẫu thử nghiệm
4- Khung chứa mẫu
Hình 8 - Ví dụ về các chi tiết khi lắp đặt mẫu cửa cuốn
CHÚ DẪN:
d - Các khe hở cần đo
Hình 9 - Ví dụ về các khe hở cần đo trên mặt cắt theo phương thẳng đứng đối với các mẫu cửa bản lề và cửa xoay quanh trục đứng
CHÚ DẪN:
d - Các khe hở cần đo
CHÚ THÍCH:
a) Cửa có 1 cánh
b) Cửa có 2 cánh
Hình 10 - Ví dụ về các khe hở cần đo trên mặt cắt theo phương nằm ngang đối với các mẫu cửa bản lề và cửa xoay quanh trục đứng
CHÚ DẪN:
d - Các khe hở cần đo
1- Mép tiếp xúc
CHÚ THÍCH:
a) Cửa trượt
b) Cửa cuốn
c) Cửa xếp
Hình 11 - Ví dụ về việc đo khe hở theo mặt cắt ngang
CHÚ DẪN:
d - Các khe hở cần đo
CHÚ THÍCH:
a) Cửa trượt
b) Cửa cuốn
c) Cửa xếp
Hình 12 - Ví dụ về việc đo khe hở theo mặt cắt dọc theo chiều cao cửa
8 Các điều kiện cần đảm bảo khác
8.1 Độ ẩm
Mẫu thử nghiệm phải được dưỡng hộ tuân thủ theo các yêu cầu nêu ra trong TCVN 9311:2012.
Phụ lục A nêu những yêu cầu đối với việc dưỡng hộ các kết cấu gá đỡ.
8.2 Bảo dưỡng cơ học
Cần tham khảo tiêu chuẩn về sản phẩm cửa để biết những chi tiết yêu cầu bảo dưỡng cơ học trước khi tiến hành thử nghiệm đốt, cụ thể là kiểm tra sự vận hành, kiểm tra độ rơ của các liên kết hoặc khả năng tự đóng của cửa.
Những yêu cầu về tính bền vững được đề cập trong các tiêu chuẩn về sản phẩm.
9 Lắp đặt các đầu đo
9.1 Đầu đo nhiệt
9.1.1 Đầu đo nhiệt lắp trong lò thử nghiệm (tấm đo nhiệt)
Phải sử dụng các đầu đo nhiệt phù hợp với TCVN 9311:2012. Các đầu đo nhiệt này phải được phân bố đều khắp trên một mặt phẳng thẳng đứng quy ước, cách mặt phẳng gần nhất của mẫu một khoảng là 100 mm (xem Hình 13). Mật độ bố trí đầu đo nhiệt phải đảm bảo trên bề mặt tiếp xúc với lửa của mẫu, cứ mỗi vùng diện tích không quá 1,5 m2 có ít nhất một đầu đo nhiệt và tối thiểu phải có bốn đầu đo nhiệt cho toàn bộ mẫu. Các đầu đo nhiệt phải được lắp đặt với mặt A (xem TCVN 9311:2012) của đầu đo hướng vào mặt tường phía sau của không gian lò.
9.1.2 Đầu đo nhiệt dùng cho bề mặt không tiếp xúc với lửa
9.1.2.1 Nguyên tắc chung
Nếu không cần đánh giá các chỉ tiêu về cách nhiệt của mẫu cửa thì không phải đo nhiệt độ của bề mặt không tiếp xúc với lửa do đó không cần bố trí đầu đo nhiệt trên bề mặt này.
Đối với các mẫu cần đánh giá về tiêu chí cách nhiệt thì phải sử dụng các đầu đo nhiệt có dạng như mô tả trong TCVN 9311:2012 ở bề mặt không tiếp xúc với lửa để đo các giá trị nhiệt độ gia tăng trung bình và nhiệt độ gia tăng lớn nhất của bề mặt này. Phải tuân thủ những nguyên tắc chung để lắp đặt và tháo dỡ các đầu đo nhiệt, được trình bày trong TCVN 9311:2012.
Việc đánh giá tính cách nhiệt dựa trên quy trình thử nghiệm bổ sung được thực hiện đồng thời với các yêu cầu của quy trình thử nghiệm thông thường (như nêu trong 9.1.2.4). Người đặt hàng thử nghiệm phải chỉ định rõ cho phòng thử nghiệm nếu có yêu cầu đánh giá sự làm việc của cụm cửa dựa trên quy trình thử nghiệm bổ sung vì việc đó đòi hỏi phải sử dụng thêm các đầu đo nhiệt.
Không cần đo nhiệt độ của kết cấu gá đỡ do đó không cần gắn các đầu đo nhiệt vào kết cấu gá đỡ mẫu.
Các đầu đo nhiệt phải được lắp đặt cách xa những chi tiết bằng kim loại một khoảng tối thiểu là 50 mm.
Từ Hình 14 đến Hình 27 trình bày ví dụ về vị trí của các đầu đo nhiệt trên bề mặt không tiếp xúc với lửa.
9.1.2.2 Nhiệt độ gia tăng trung bình của bề mặt không tiếp xúc với lửa
Dùng 5 đầu đo nhiệt (đối với cửa cánh đơn hoặc cánh kép), một chiếc đặt ở trọng tâm của các cánh, bốn chiếc còn lại đặt ở vị trí trung tâm của 4 mảng diện tích thuộc các góc phần tư cánh cửa. Các đầu đo nhiệt này phải đặt cách xa một khoảng tối thiểu là 50 mm tính từ các chi tiết như mạch nối ghép, nẹp gia cường hoặc bộ phận Liên kết xuyên trong tấm cửa. Ngoài ra chúng còn phải đặt cách các mép của cánh cửa hoặc mép của lớp vỏ bằng kim loại một khoảng tối thiểu là 100 mm.
Đối với các cụm cửa có những mảng vật liệu khác loại với diện tích lớn hơn hoặc bằng 0,1 m2 có mức độ cách nhiệt khác nhau (ví dụ như các Tấm cánh giả phía trên, Tấm bịt cố định phía trên, Tấm bịt cố định cạnh cửa hoặc các tấm kính nằm trong phạm vi của cánh cửa) cần phải sử dụng thêm các đầu đo nhiệt bố trí đều trên bề mặt tất cả các mảng vật liệu khác loại đó để xác định nhiệt độ trung bình. Mật độ phân bố đầu đo nhiệt phải đảm bảo trên 1 m2 bề mặt vật liệu khác loại hoặc phần thuộc nó có một đầu đo nhiệt và tối thiểu phải có hai đầu đo nhiệt. Sự làm việc cách nhiệt tổng thể được xác định bằng cách lấy giá trị trung bình của tất cả các mảng vật liệu khác loại.
Nếu tổng diện tích của mảng vật liệu khác loại duy nhất trong cụm cửa nhỏ hơn 0,1 m2, có thể không cần đo nhiệt độ để đưa vào tính toán nhiệt độ gia tăng trung bình của bề mặt không tiếp xúc với lửa.
9.1.2.3 Nhiệt độ gia tăng lớn nhất
9.1.2.3.1 Nguyên tắc chung
Nhiệt độ gia tăng lớn nhất được xác định từ số đọc của các đầu đo nhiệt sau: năm đầu đo nhiệt được lắp để xác định giá trị nhiệt độ gia tăng trung bình (như nêu trong 9.1.2.2); các đầu đo nhiệt di động; và từ những đầu đo nhiệt bổ sung lắp đặt tại những vị trí như nêu ra trong 9.1.2.3.2; 9.1.2.3.3; và 9.1.2.3.4.
Đối với các cụm cửa có những mảng vật liệu khác loại với diện tích lớn hơn hoặc bằng 0,1 m2 có khả năng cách nhiệt khác nhau (ví dụ như các Tấm cánh giả phía trên, Tấm bịt cố định phía trên, Tấm bịt cố định cạnh cửa hoặc các Tấm lấy sáng nằm trong phạm vi cánh cửa), nếu nhiệt độ gia tăng trung bình của bề mặt không tiếp xúc với lửa được đánh giá độc lập thì việc đánh giá nhiệt độ gia tăng lớn nhất của bề mặt không tiếp xúc với lửa cũng phải được thực hiện độc lập. Việc này có thể đòi hỏi sử dụng thêm các đầu đo nhiệt ở bề mặt không tiếp xúc với lửa như trình bày trong 9.1.2.3.3 và 9.1.2.3.4.
Không được gắn các đầu đo nhiệt vào những bản mã có đường kính bề mặt nhỏ hơn 12 mm trừ khi nó được bố trí rải khắp trên bề mặt cụm mẫu.
9.1.2.3.2 Nhiệt độ của khuôn cửa
Các đầu đo nhiệt phải được cố định tại những vị trí sau:
a) Một chiếc ở giữa chiều cao của mỗi bộ phận thẳng đứng.
b) Một chiếc nằm trên phần nằm ngang trên cùng của khuôn (và tại tất cả các thanh sườn ngang có bề rộng lớn hơn 30 mm, nếu có), tại điểm giữa bề rộng (nằm trên cánh cửa chính và cách các mép tiếp giáp của cửa nhiều cánh tối thiểu là 100 mm).
c) Trên phần nằm ngang cao nhất của khuôn (và tất cả các thanh sườn ngang có bề rộng lớn hơn 30 mm, nếu có) nằm vào phía trong và cách góc cánh cửa tối thiểu là 50 mm.
Tại mỗi vị trí, các đầu đo nhiệt phải được lắp đặt để tâm của đĩa tròn chỉ cách mép ráp nối giữa khuôn và kết cấu gá đỡ 15 mm. Nếu không đảm bảo điều này thì khoảng cách của các đầu đo nhiệt đến mép phía trong của khuôn không được lớn hơn 100 mm (xem Hình 16).
CHÚ THÍCH: Đối với các cửa 1 cánh, nếu bề rộng của ô cửa nhỏ, các đầu đo nhiệt đặt theo b và c cách nhau không quá 550 mm thì có thể bỏ qua những quy định trong 9.1.2.3.2 b). Xem Hình 21.
Kích thước tính bằng milimét
CHÚ DẪN:
1- Mặt phẳng bố trí đặt các đầu đo nhiệt
2- Bề mặt gần lửa nhất của kết cấu mẫu thử
3- Khung chứa mẫu thí nghiệm
Hình 13 - Ví dụ về vị trí đặt các đầu đo nhiệt độ phía trong lò, theo mặt cắt ngang cửa
Kích thước tính bằng milimét
o Đầu đo nhiệt độ gia tăng trung bình
Đầu đo nhiệt độ gia tăng lớn nhất
· Đầu đo nhiệt độ bổ sung để xác định nhiệt độ gia tăng lớn nhất (theo quy trình bổ sung)
CHÚ DẪN:
1- Khuôn cửa
2- Cánh cửa
Hình 14 - Ví dụ về bố trí chung vị trí các đầu đo nhiệt trên bề mặt không tiếp xúc với lửa (mẫu cửa một cánh bề rộng 1 200 mm)
Kích thước tính bằng milimét
o Đầu đo nhiệt độ gia tăng trung bình
Đầu đo nhiệt độ gia tăng lớn nhất
· Đầu đo nhiệt độ bổ sung để xác định nhiệt độ gia tăng lớn nhất (theo quy trình bổ sung)
CHÚ DẪN:
1- Cánh chính
2- Cánh phụ
Hình 15 - Ví dụ về cách bố trí chung vị trí các đầu đo nhiệt độ trên bề mặt không tiếp xúc với lửa (cụm cửa hai cánh, chiều rộng cánh chính 1 200 mm, chiều rộng cánh phụ nhỏ hơn 1 200 mm)
Kích thước tính bằng milimét
Đầu đo nhiệt độ gia tăng lớn nhất
· Đầu đo nhiệt độ bổ sung để xác định nhiệt độ gia tăng lớn nhất (theo quy trình bổ sung)
CHÚ DẪN:
1- Khoảng thông thủy
Hình 16 - Ví dụ về chi tiết vị trí của các đầu đo nhiệt tại chu vi bề mặt không tiếp xúc với lửa của các cửa bản lề và cửa xoay
Kích thước tính bằng milimét
Đầu đo nhiệt độ gia tăng lớn nhất
· Đầu đo nhiệt độ bổ sung để xác định nhiệt độ gia tăng lớn nhất (theo quy trình bổ sung)
Hình 17 - Ví dụ về chi tiết vị trí đầu đo nhiệt trên các mép tiếp xúc của bề mặt không tiếp xúc với lửa (cửa bản lề hoặc cửa xoay có hai cánh)
Kích thước tính bằng milimét
o Đầu đo nhiệt độ gia tăng trung bình
Đầu đo nhiệt độ gia tăng lớn nhất
· Đầu đo nhiệt độ bổ sung để xác định nhiệt độ gia tăng lớn nhất (theo quy trình bổ sung)
CHÚ DẪN:
1- Khoảng thông thủy
Hình 18 - Ví dụ về vị trí các đầu đo nhiệt trên bề mặt không tiếp xúc với lửa của cửa trượt một cánh
Kích thước tính bằng milimét
Đầu đo nhiệt độ gia tăng lớn nhất
· Đầu đo nhiệt độ bổ sung để xác định nhiệt độ gia tăng lớn nhất (theo quy trình bổ sung)
CHÚ DẪN:
a) Chịu lửa ở cả hai phía
Hình 19 - Ví dụ về vị trí các đầu đo nhiệt độ gia tăng lớn nhất trên bề mặt không tiếp xúc với lửa của cửa trượt một cánh
Kích thước tính bằng milimét
o Đầu đo nhiệt độ gia tăng trung bình
Đầu đo nhiệt độ gia tăng lớn nhất
· Đầu đo nhiệt độ bổ sung để xác định nhiệt độ gia tăng lớn nhất (theo quy trình bổ sung)
CHÚ DẪN:
1- Khoảng thông thủy
2- Kích thước tấm cửa cuốn
Hình 20 - Ví dụ về bố trí chung các đầu đo nhiệt trên bề mặt không tiếp xúc với lửa của cửa cuốn
Kích thước tính bằng milimét
o Đầu đo nhiệt độ gia tăng lớn nhất
Đầu đo nhiệt độ bổ sung để xác định nhiệt độ gia tăng lớn nhất (theo quy trình bổ sung)
Các đầu đo nhiệt bắt buộc phải có: 1, 3, 4, 6, 7 và 9
Các đầu đo nhiệt có thể không cần đến nếu kích thước nhỏ hơn các giá trị chỉ định trong hình vẽ: 2, 5 và 8
Hình 21 - Nguyên tắc giảm số lượng đầu đo nhiệt độ trên bề mặt không tiếp xúc với lửa dựa trên chiều rộng tấm cánh cửa
Kích thước tính bằng milimét
o Đầu đo nhiệt độ gia tăng trung bình
Đầu đo nhiệt độ gia tăng lớn nhất
CHÚ DẪN:
R- Chiều rộng tấm
C- Chiều cao tấm
Hình 22 - Ví dụ về bố trí các đầu đo nhiệt trên các bề mặt tấm vật liệu khác loại, ví dụ các Tấm bịt cố định cạnh cửa, Tấm cánh giả phía trên, giả thiết là trong mẫu thử nghiệm mỗi tấm vật liệu khác loại chỉ bao gồm 1 loại vật liệu
Kích thước tính bằng milimét
o Đầu đo nhiệt độ gia tăng trung bình
swĐầu đo nhiệt độ gia tăng lớn nhất
· Đầu đo nhiệt độ bổ sung để đo nhiệt độ gia tăng lớn nhất (theo quy trình thí nghiệm bổ sung)
CHÚ DẪN:
1- Tấm cửa chính
2- Tấm cánh giả phía trên
Hình 23 - Ví dụ về bố trí các đầu đo nhiệt trên bề mặt không tiếp xúc với lửa của các cửa hai cánh có Tấm cánh giả phía trên liên kết bản lề vào khuôn cửa (chiều rộng lớn nhất của cánh nhỏ hơn 1 200 mm)
Kích thước tính bằng milimét
o Đầu đo nhiệt độ gia tăng trung bình
swĐầu đo nhiệt độ gia tăng lớn nhất
· Đầu đo nhiệt độ bổ sung để đo nhiệt độ gia tăng lớn nhất (theo quy trình thí nghiệm bổ sung)
CHÚ DẪN:
1- Tấm cửa chính
2- Thanh đố ngang (transom)
Hình 24 - Bố trí các đầu đo nhiệt trên bề mặt không tiếp xúc với lửa của các cửa có hai cánh, có Tấm bịt cố định phía trên (Chiều rộng lớn nhất của cánh nhỏ hơn 1 200 mm)
Kích thước tính bằng milimét
Đầu đo nhiệt độ gia tăng lớn nhất
· Đầu đo nhiệt độ bổ sung để xác định nhiệt độ gia tăng lớn nhất (theo quy trình bổ sung)
CHÚ DẪN:
1- Khoảng hở thông thủy
2- Tấm bịt cố định phía trên
3- Tấm cánh cửa
Hình 25 - Bố trí các đầu đo nhiệt trên bề mặt không tiếp xúc với lửa cho các cửa hai cánh có Tấm bịt cố định phía trên (chiều rộng lớn nhất của cánh nhỏ hơn 1 200 mm)
Kích thước tính bằng milimét
o Đầu đo nhiệt độ gia tăng trung bình
swĐầu đo nhiệt độ gia tăng lớn nhất
· Đầu đo nhiệt độ bổ sung để đo nhiệt độ gia tăng lớn nhất (theo quy trình bổ sung)
CHÚ THÍCH:
Nhiệt độ trung bình của ô kính: giá trị trung bình của hai đầu đo số 6 và số 7
Nhiệt độ lớn nhất của ô kính: giá trị lớn nhất của các đầu đo từ số 6 đến số 10
Nhiệt độ trung bình của tấm cánh cửa: giá trị trung bình của các đầu đo từ 1 đến 5
Hình 26 - Ví dụ về vị trí các đầu đo nhiệt trên mặt không tiếp xúc với lửa của cửa bản lề có các ô kính (chiều rộng lớn nhất của tấm cánh cửa < 1 200 mm)
Kích thước tính bằng milimét
o Đầu đo nhiệt độ gia tăng trung bình
swĐầu đo nhiệt độ gia tăng lớn nhất
· Đầu đo nhiệt độ bổ sung để đo nhiệt độ gia tăng lớn nhất (theo quy trình bổ sung)
CHÚ THÍCH:
Nhiệt độ trung bình của ô kính: giá trị trung bình của hai đầu đo số 1 và số 5
Nhiệt độ lớn nhất của ô kính: giá trị lớn nhất của các đầu đo từ 1 đến 5 và từ 9 đến 12
Nhiệt độ trung bình của tấm cánh cửa: giá trị trung bình của các đầu đo từ 6 đến 8
Nhiệt độ lớn nhất của tấm cánh cửa: giá trị lớn nhất của các đầu đo từ 6 đến 8 và từ 13 đến 22
I- Tấm cửa chính
II- Tấm bịt cố định cạnh cửa
Hình 27 - Ví dụ về vị trí các đầu đo nhiệt trên bề mặt không tiếp xúc với lửa của cụm cửa có cả Tấm bịt cố định phía trên và Tấm bịt cố định cạnh cửa
9.1.2.3.3 Nhiệt độ của tấm cánh cửa đi hoặc cửa chắn
Phải bố trí các đầu đo nhiệt trên bề mặt của mỗi tấm cánh cửa đi hoặc cửa chắn như sau:
a) Tại giữa chiều cao, nằm phía trong và cách các mép thẳng đứng một khoảng 100 mm, như quy định dưới đây;
b) Tại giữa bề rộng, nằm phía dưới và cách mép nằm ngang một khoảng bằng 100 mm như quy định dưới đây;
c) 100 mm phía trong mép thẳng đứng và 100 mm phía dưới mép nằm ngang tức là:
- Các mép phía trong của ô cửa đối với:
+ Cửa bản lề hoặc cửa xoay quanh trục thẳng đứng mở vào phía trong lò thử nghiệm;
+ Cửa chắn hoặc cửa trượt được lắp ở phía tiếp xúc với lửa của kết cấu gá đỡ.
- Phần trông thấy được của mép của tấm cánh cửa đối với:
+ Cửa bản lề hoặc cửa xoay quanh trục thẳng đứng mở ra phía ngoài lò thử nghiệm;
+ Cửa chắn hoặc cửa trượt được lắp ở phía không tiếp xúc với lửa của kết cấu gá đỡ.
Xem ví dụ từ Hình 14 đến Hình 21 và từ Hình 23 đến Hình 27.
CHÚ THÍCH: 1- Nếu do bề rộng của các tấm cánh cửa đi hoặc cửa chắn nhỏ nên khoảng cách giữa các đầu đo nhiệt nhỏ hơn 500 mm thì những quy định trong 9.1.2.3.3 b) có thể được bỏ qua.
CHÚ THÍCH 2: 2- Nếu tấm cánh cửa có bề rộng nhỏ hơn 200 mm (ví dụ trong các cửa chắn nhiều cánh) thì khi bố trí các đầu đo nhiệt trên bề mặt không tiếp xúc với lửa, mỗi cánh đó phải được coi như một cánh hoàn chỉnh để đánh giá mức độ gia tăng nhiệt độ lớn nhất. Các ví dụ về giảm những yêu cầu đối với các đầu đo nhiệt trên bề mặt không tiếp xúc với lửa do điều kiện bề rộng được trình bày trong Hình 21.
Các đầu đo nhiệt bổ sung phải được cố định vào những vùng khác trên cánh cửa đi hoặc cửa chắn, ví dụ trên tất cả các chi tiết Liên kết xuyên trên tấm cửa hoặc những vị trí có khả năng xuất hiện nhiệt độ cao hơn so với giá trị trung bình đối với những bề mặt phải đảm bảo những giới hạn như nêu trong 9.1.2.3.1. Đầu đo nhiệt bổ sung phải được đặt cách các mép của tấm cánh cửa một khoảng không nhỏ hơn 100 mm.
9.1.2.3.4 Nhiệt độ của các vùng khác
Những đầu đo nhiệt dùng để xác định nhiệt độ gia tăng lớn nhất của các tấm bịt cố định cạnh cửa, tấm bịt cố định phía trên, tấm cánh giả phía trên và các mảng vật liệu khác loại có khả năng cách nhiệt khác nhau nằm trong phạm vi tấm cửa phải được lắp đặt giống như đo trên tấm cửa. Tuy nhiên, nếu có nhiều mảng diện tích cùng loại thì chúng được coi như một mảng rộng (giống như đối với việc đo nhiệt độ gia tăng trung bình). Trong trường hợp này, các đầu đo nhiệt phải bố trí tránh tất cả những vị trí tiếp giáp giữa khung của cửa và khuôn của tấm cửa. Xem Hình 26 và Hình 27.
Ngoài ra, các đầu đo nhiệt phải được gắn vào những Tấm cánh giả phía trên và Tấm bịt cố định phía trên của cánh cửa (không phải tấm rời rạc nằm phía trong cánh cửa) theo quy định sau:
a) Tại điểm giữa bề rộng, nằm phía trên cách 100 mm tính từ mép trên;
b) 100 mm phía trong tính từ các mép thẳng đứng, 100 mm phía trên tính từ các mép nằm ngang.
CHÚ THÍCH: Xem ví dụ theo mô tả như trên trong Hình 23 và Hình 24. Xem ví dụ về phân bố các đầu đo nhiệt trên tấm dựa vào kích cỡ và khoảng cách giữa các điểm đo ở Hình 22.
Nguyên tắc bớt số lượng điểm đo nhiệt độ trên cánh cửa do điều kiện bề rộng nhỏ có thể áp dụng được đối với các tấm bịt cố định phía trên, tấm bịt cố định cạnh cửa và tấm cánh giả phía trên. Xem ví dụ ở Hình 21.
9.1.2.4 Nhiệt độ gia tăng lớn nhất (theo quy trình thử nghiệm bổ sung)
9.1.2.4.1 Nguyên tắc chung
Nhiệt độ gia tăng lớn nhất phải được xác định qua các đầu đo nhiệt sử dụng để đo giá trị nhiệt độ gia tăng lớn nhất và các đầu đo nhiệt bổ sung được lắp đặt theo quy định trong 9.1.2.4.2 và 9.1.2.4.3.
9.1.2.4.2 Nhiệt độ của các cánh cửa
Các đầu đo nhiệt phải được lắp đặt trên bề mặt của mỗi cánh cửa hoặc tấm chắn theo hình thức như sau:
a) Tại giữa chiều cao, cách 25 mm vào phía trong tính từ các mép thẳng đứng theo quy định dưới đây;
b) Tại giữa bề rộng, cách 25 mm ở phía dưới tính từ mép nằm ngang theo quy định dưới đây;
c) Cách 25 mm phía trong tính từ các mép thẳng đứng và 25 mm phía dưới tính từ các mép nằm ngang được quy định như sau:
- Các mép bên trong của ô cửa thông thủy đối với:
+ Các cửa đi dạng bản lề hoặc xoay quanh trục đứng mở vào phía trong lò;
+ Các tấm cửa chắn hoặc cửa trượt được lắp đặt trên bề mặt tiếp xúc với lửa của kết cấu gá đỡ;
- Bộ phận nhìn thấy của mép của tấm cánh cửa;
+ Các cửa đi dạng bản lề hoặc xoay quanh trục đứng mở ra phía ngoài lò;
+ Các tấm cửa chắn hoặc cửa trượt được lắp đặt trên bề mặt không tiếp xúc với lửa của kết cấu gá đỡ;
CHÚ THÍCH: 1- Nếu do bề rộng của các tấm cánh cửa hoặc tấm che nhỏ nên khoảng cách giữa các đầu đo nhiệt theo quy định trong 9.1.2.4.2b) và 9.1.2.4.2c) nhỏ hơn 575 mm thì có thể bỏ qua những quy định trong 9.1.2.4.2b).
CHÚ THÍCH : 2- Nếu tấm cánh cửa có bề rộng nhỏ hơn 200 mm (ví dụ trong các cửa chắn nhiều cánh) thì khi bố trí các đầu đo nhiệt độ trên bề mặt không tiếp xúc với lửa, mỗi cánh đó phải được coi như một cánh hoàn chỉnh để đánh giá mức độ gia tăng nhiệt độ lớn nhất. Hình 21 trình bày sự thay đổi về yêu cầu đối với các đầu đo nhiệt trên bề mặt không tiếp xúc với lửa tùy thuộc vào bề rộng của cánh cửa.
9.1.2.4.3 Nhiệt độ của các vùng khác
Những đầu đo nhiệt dùng để đo nhiệt độ gia tăng lớn nhất của các vùng khác (trừ các vùng vật liệu khác loại nằm trong phạm vi cánh cửa) phải được lắp đặt giống như đối với các tấm cánh cửa. Tuy nhiên nếu có từ hai vùng vật liệu khác loại trở lên có cùng một dạng thì chúng phải được coi như một vùng rộng (giống như khi đo nhiệt độ gia tăng trung bình). Trong trường hợp đó các đầu đo nhiệt phải lắp đặt tránh tất cả các điểm tiếp giáp giữa khung của cửa và khuôn của tấm cánh cửa.
Ngoài ra, các đầu đo nhiệt phải được gắn vào những Tấm cánh giả phía trên và Tấm bịt cố định phía trên của cánh cửa (không phải tấm khác loại nằm phía trong cánh cửa) theo quy định sau:
a) Tại điểm giữa bề rộng cửa, nằm phía trên, cách 25 mm tính từ mép trên;
b) 100 mm phía trong tính từ các mép thẳng đứng, 25 mm phía trên tính từ các mép nằm ngang.
Xem ví dụ theo mô tả như trên trong Hình 23 và Hình 24. Xem ví dụ về phân bố đầu đo nhiệt trên các tấm cửa dựa vào kích cỡ và khoảng cách giữa các điểm đo ở Hình 22.
Nguyên tắc bớt số lượng điểm đo nhiệt độ trên cánh cửa do điều kiện bề rộng nhỏ có thể áp dụng được đối với các tấm sườn ngang. Tấm bịt cố định cạnh cửa và Tấm cánh giả phía trên. Xem ví dụ ở Hình 21.
9.2 Áp suất khí
Các đầu đo áp suất phải được bố trí phù hợp với TCVN 9311:2012.
9.3 Độ cong vênh của mẫu
Phải có các dụng cụ thích hợp (ví dụ: thước thép, đầu đo chuyển vị, máy đo chuyển dịch,…) để đo những diễn biến của các cong vênh lớn (có nghĩa là từ 3 mm trở lên) của mẫu thử nghiệm trong suốt thời gian thử nghiệm. Những bộ phận dưới đây có thể xuất hiện cong vênh lớn:
- Tấm cánh cửa đi hoặc cửa chắn chuyển dịch tương đối so với khuôn;
- Khuôn cửa chuyển dịch tương đối so với kết cấu gá đỡ;
- Kết cấu gá đỡ.
Nguyên tắc của phép đo cong vênh là phải dựa vào một điểm chuẩn cố định. Khoảng giãn cách giữa các lần đo phải được lựa chọn để có thể biểu diễn một cách rõ nét diễn biến của cong vênh trong suốt quá trình thử nghiệm.
Phương pháp đo thích hợp và hướng dẫn lựa chọn khoảng thời gian giãn cách đo thích hợp được nêu trong TCVN 9311:2012.
Việc đo cong vênh là một yêu cầu bắt buộc cho dù không có tiêu chí đánh giá khả năng làm việc của mẫu liên quan đến nó. Số liệu có liên quan đến chuyển dịch tương đối giữa các bộ phận của mẫu thử nghiệm, giữa mẫu thử nghiệm và kết cấu gá đỡ và của bản thân kết cấu gá đỡ có thể sẽ rất cần thiết để xác định phạm vi áp dụng kết quả thử nghiệm. Từ Hình 28 đến Hình 31 chỉ ra những vị trí nên được đo cong vênh.
9.4 Đo bức xạ nhiệt
Nếu phải đo bức xạ nhiệt thì đầu đo bức xạ nhiệt phải được bố trí theo như mô tả trong tiêu chuẩn EN 1363-2:1999.
10 Quy trình thử nghiệm
10.1 Các phép đo, kiểm tra và chuẩn bị trước thử nghiệm
10.1.1 Nguyên tắc chung
Trước khi tiến hành thử nghiệm đốt phải thực hiện những bước sau:
a) Kiểm tra về cơ học, ví dụ phòng thử nghiệm tiến hành kiểm tra độ rơ của các liên kết theo quy định của tiêu chuẩn về sản phẩm;
b) Đo các khe hở, xem 10.1.2;
c) Đo lực cản giữ của cơ cấu đóng mở trong trường hợp lực cản giữ này là một phần tạo ra khả năng chịu lửa cho mẫu, xem 10.1.3;
d) Kiểm tra tình trạng đóng, xem 10.1.4.
10.1.2 Đo khe hở
Trước khi thử nghiệm phải đo khe hở giữa bộ phận chuyển động và bộ phận cố định của các cụm cửa đi và cửa chắn (ví dụ giữa tấm cánh cửa và khung). Tối thiểu phải thực hiện đo tại 3 vị trí dọc theo mỗi cạnh bên, cạnh trên cùng và dưới cùng của mỗi cánh cửa. Các điểm đo phải cách nhau không quá 750 mm và phải cho giá trị không sai khác nhau quá 0,5 mm. Những khe hở không thể tiếp cận được phải được đo một cách gián tiếp.
Từ Hình 9 đến Hình 12 trình bày ví dụ về những phép đo được thực hiện ở nhiều vị trí khác nhau cho một số dạng hèm cửa (phần tiếp xúc giữa cánh cửa và khuôn cửa). Nếu các khe hở do phòng thử nghiệm đo được không nằm trong những quy định trong 7.3 trước khi thử nghiệm thì phạm vi áp dụng trực tiếp của kết quả thử nghiệm có thể bị hạn chế. Xem trong 13.
10.1.3 Đo lực cản giữ
Phải đo các lực cản giữ đối với những cụm cửa mở không cần cơ cấu hỗ trợ (mở thông thường) nhưng có thiết bị đóng. Việc đo này cho phép biết được độ lớn của các lực được sử dụng để giữ cánh cửa đóng kín và khẳng định rằng chúng làm việc giống như trạng thái làm việc thực tế.
Lực cản giữ các cánh cửa phải được xác định theo quy định sau: đối với cửa mở 2 phía, phải xác định mô men mở cửa cho từng hướng mở; Đối với cửa cuốn, phải xác định lực kéo theo phương mở cửa.
Phải xác định lực cản giữ trong tất cả các cụm cửa có lắp thiết bị đóng được vận hành bởi chính người khi thoát hiểm mà không có cơ cấu hỗ trợ cụ thể như sau: Vặn tay nắm, mở khóa chốt, … mở mẫu cửa đang được thử nghiệm một cách từ từ, dùng đầu đo lực gắn vào tay cầm và kéo ra ngược với chiều đóng cửa khoảng 100 mm tính từ vị trí đóng hoàn toàn. Ghi lại giá trị cực đại của đầu đo lực trong khoảng vận hành của cửa giữa vị trí đóng hoàn toàn và vị trí mở ra 100 mm.
10.1.4 Kiểm tra tình trạng đóng
Phải kiểm tra cửa đi và cửa chắn về tình trạng đóng cuối cùng trước khi tiến hành thử nghiệm đốt. Việc kiểm tra này bao gồm mở cửa ra khoảng 300 mm sau đó đẩy nó lại vị trí đóng. Khi thực hiện quy trình này các thiết bị hỗ trợ đóng phải được lắp đặt hoàn chỉnh vào mẫu cửa. Nếu cụm cửa không có thiết bị hỗ trợ đóng hoặc không thể sử dụng trong phạm vi của lò đốt thì phải đóng cụm cửa bằng tay.
Có thể lắp đặt chốt cửa trước khi thử nghiệm song không được khóa chốt trừ khi chỉ có thể dùng khóa để giữ nguyên cửa ở vị trí đóng trong suốt quá trình thử nghiệm (tức là không có khóa hoặc thiết bị đóng nào khác để giữ cửa ở vị trí đóng). Điều kiện này chỉ có thể áp dụng được đối với các cửa thường xuyên duy trì ở trạng thái đóng. Không được để chìa khóa trong ổ khóa.
Nếu quá trình kiểm tra tình trạng đóng được thực hiện trên mẫu thử nghiệm đã đặt vào vị trí thử nghiệm trong lò đốt thì lò đốt phải được để ở chế độ áp suất khí quyển (tức là không có sự thổi khí vào lò hoặc hút khí từ trong lò ra).
10.2 Thử nghiệm đốt
10.2.1 Nguyên tắc chung
Các thiết bị và quy trình phục vụ thử nghiệm đốt phải phù hợp với những quy định nêu trong TCVN 9311:2012 và nếu có yêu cầu bổ sung thì cần phải phù hợp với tiêu chuẩn EN 1363-2:1999.
10.2.2 Tính toàn vẹn
Khi theo dõi tính toàn vẹn của mẫu, không được sử dụng cữ đo khe hở loại 6 mm tại những vị trí có Thanh bậu cửa của các cụm cửa đi hoặc cửa chắn.
10.2.3 Tính cách nhiệt
Khi theo dõi tính cách nhiệt không được đặt đầu đo nhiệt di động tại những vị trí không cho phép đặt đầu đo nhiệt cố định.
10.2.4 Tính bức xạ nhiệt
Thực hiện theo đúng chỉ dẫn trong tiêu chuẩn EN 1363-2:1999 về quy trình đo bức xạ nhiệt.
11 Tiêu chí đánh giá
11.1 Tính toàn vẹn
Xem các tiêu chí để đánh giá tính toàn vẹn của mẫu thử nghiệm trong TCVN 9311:2012.
11.2 Tính cách nhiệt
11.2.1 Nguyên tắc chung
Đối với các cửa có những mảng vật liệu khác loại có khả năng cách nhiệt khác nhau phải xác định tính phù hợp với các chỉ tiêu về tính cách nhiệt cho từng loại mảng vật liệu riêng biệt.
11.2.2 Nhiệt độ gia tăng trung bình
Phải xem xét, đánh giá mẫu thử nghiệm theo tiêu chí về nhiệt độ gia tăng trung bình như quy định trong TCVN 9311:2012. Tính phù hợp phải được đánh giá trên cơ sở các số liệu ghi nhận được từ những đầu đo nhiệt bố trí theo quy định trong 9.1.2.2.
11.2.3 Nhiệt độ gia tăng lớn nhất
Phải đánh giá mẫu thử nghiệm theo tiêu chí về nhiệt độ gia tăng lớn nhất quy định trong TCVN 9311:2012 (180 oK), ngoại trừ trường hợp giới hạn về sự gia tăng nhiệt độ của khung cửa cho phép lên đến 360 oK. Tính phù hợp phải được đánh giá trên cơ sở các số liệu ghi nhận được từ những đầu đo nhiệt bố trí theo quy định trong 9.1.2.2; 9.1.2.3 và số liệu của đầu đo nhiệt di động đo theo quy định trong 10.2.3.
11.3 Bức xạ nhiệt
Xem chi tiết về tiêu chí đánh giá sự làm việc bức xạ nhiệt trong tiêu chuẩn EN 1363-2:1999.
12 Báo cáo kết quả
Trong báo cáo kết quả phải có đầy đủ các như nêu trong TCVN 9311:2012, bên cạnh đó phải bổ sung thêm các mục sau:
a) Viện dẫn tiêu chuẩn này;
b) Nêu chi tiết quá trình kiểm tra, xác nhận mẫu theo các quy định trong 6.5;
c) Chỉ ra tiêu chuẩn đã vận dụng để lựa chọn kết cấu gá đỡ mẫu;
d) Mô tả kết cấu gá đỡ thực tế, nếu có. Các chi tiết của kết cấu gá đỡ thực tế cũng được kiểm tra, xác nhận giống như thực hiện đối với mẫu thử nghiệm;
e) Các số liệu về điều kiện của kết cấu gá đỡ mẫu dưới góc độ những dịch chuyển cho phép nêu trong Phụ lục A;
f) Các kết quả đo khe hở theo quy định của 10.1.2;
g) Giá trị lực cản giữ theo quy định trong 10.1.3;
h) Các thông tin có liên quan đến việc kiểm tra cơ học được thực hiện trên mẫu thử nghiệm;
i) Kết quả được đưa ra dưới dạng tổng thời gian, làm tròn đến đơn vị phút, tính từ khi bắt đầu quá trình gia nhiệt và thời điểm hư hỏng về cách nhiệt theo quy trình thử nghiệm thông thường và quy trình thử nghiệm bổ sung nếu có;
Kích thước tính bằng milimét
qs Vị trí nên đo cong vênh
q Vị trí dự kiến có chuyển dịch lớn nhất
Hình 28 - Các vị trí nên được bố trí đo cong vênh trên các cụm cửa có một cánh
qs Vị trí nên đo cong vênh
q Vị trí dự kiến có chuyển dịch lớn nhất
Hình 29 - Các vị trí nên được bố trí đo cong vênh trên các cụm cửa hai cánh
qs Vị trí nên đo cong vênh
q Vị trí dự kiến có chuyển dịch lớn nhất
CHÚ DẪN:
1- Thanh dẫn hướng trượt
Hình 30 - Các vị trí nên bố trí đo cong vênh trên những cụm cửa xếp trượt
qs Vị trí nên đo cong vênh
q Vị trí dự kiến có chuyển dịch lớn nhất
Hình 31 - Các vị trí nên bố trí đo cong vênh trên những cụm cửa cuốn
13 Ứng dụng trực tiếp kết quả thử nghiệm
13.1 Nguyên tắc chung
Phạm vi ứng dụng trực tiếp kết quả thử nghiệm vào thực tế được đưa ra để kiểm soát những thay đổi cho phép của sản phẩm thực so với mẫu thử đạt các chỉ tiêu chịu lửa theo thiết kế. Người đặt hàng thử nghiệm có thể tự ý đưa ra những thay đổi cho phép này mà không cần tiến hành thêm các phép thử, tính toán hoặc thẩm định nào khác.
CHÚ THÍCH: nếu có các yêu cầu về mở rộng kích cỡ của sản phẩm khi áp dụng thực tế thì khi thử nghiệm nên cấu tạo các kích thước của một số bộ phận nhất định nằm trong mẫu thử nhỏ hơn so với những bộ phận tương ứng dự kiến sử dụng trong sản phẩm thực tế để có thể ngoại suy tối đa các kết quả thử nghiệm bằng cách mô hình hóa sự tương tác giữa các bộ phận có cùng tỷ lệ.
13.2 Vật liệu và chế tạo
13.2.1 Nguyên tắc chung
Nếu nội dung dưới đây không có quy định nào khác thì quá trình chế tạo các cụm cửa thực tế phải giống với chế tạo mẫu thử nghiệm. Không được thay đổi về số lượng cánh cửa và dạng đóng mở (ví dụ trượt, gập, mở về một phía, mở về hai phía).
13.2.2 Quy định về những thay đổi cho phép đối với vật liệu và chế tạo
a) Bộ phận bằng gỗ
- Không được giảm chiều dày của cánh cửa, nhưng có thể tăng chiều dày.
- Chiều dày và/hoặc khối lượng thể tích của vật liệu cánh cửa có thể tăng nhưng tổng khối lượng không được vượt quá 25 % so với khối lượng của mẫu được thử nghiệm.
- Đối với các sản phẩm dạng tấm có vật liệu gốc là gỗ (ví dụ dạng tấm ép, tấm đặc, v.v.) không được thay đổi vật liệu kết dính, tổ hợp (ví dụ dạng keo) so với mẫu được thử nghiệm. Khối lượng thể tích của sản phẩm không được giảm, có thể tăng.
- Các kích thước tiết diện và/hoặc khối lượng thể tích của khung gỗ (kể cả các chi tiết liên kết mộng) không được giảm, có thể tăng.
b) Bộ phận bằng thép
- Có thể tăng kích thước của thép bọc quanh khung để đảm bảo bao bọc được kết cấu gá đỡ sau khi đã tăng chiều dày. Chiều dày của thép cũng có thể tăng lên tới giá trị không quá 25 % chiều dày tương ứng của mẫu được thử nghiệm.
- Có thể tăng theo tỷ lệ so với kích thước về số lượng bộ phận gia cường trong các cửa không yêu cầu cách nhiệt hoặc tăng về số lượng và dạng của các chi tiết cố định trong phạm vi tấm bịt, nhưng không được phép giảm.
c) Bộ phận bằng kính
- Không được thay đổi dạng kính và cách cố định kính, bao gồm cả dạng vít và mật độ bố trí vít cố định trên chu vi tấm kính so với mẫu được thử nghiệm.
- Có thể giảm số lượng các ô lắp kính và các kích thước của tấm kính trong mỗi ô lấy sáng có trong mẫu thử nghiệm bằng gỗ hoặc thép nhưng không được tăng diện tích các ô lấy sáng so với mẫu được thử nghiệm.
- Không được giảm khoảng cách từ cạnh của ô lấy sáng đến các mép bao quanh của cánh cửa hoặc khoảng cách giữa các ô lấy sáng so với cấu tạo của mẫu được thử nghiệm. Chỉ có thể thay đổi những định vị khác trong phạm vi cửa nếu thay đổi đó không đòi hỏi phải tháo dỡ hoặc lắp lại các bộ phận kết cấu của cửa.
13.2.3 Các chi tiết hoàn thiện
a) Sơn
Nếu sơn trang trí không nhằm mục đích tăng cường khả năng chịu lửa của cửa, có thể chấp nhận được các loại sơn thay thế khác và có thể sơn lên tất cả các vùng của cánh cửa hoặc khuôn mà trong quá trình thử nghiệm bề mặt mẫu không sơn trang trí. Nếu sơn trang trí có thể tăng cường khả năng chịu lửa của cửa (ví dụ sơn trương nở nhiệt) thì không được phép thay đổi loại sơn.
b) Các lớp trang trí mỏng
- Có thể dán thêm các lớp trang trí mỏng hoặc lớp gỗ bọc dày không quá 1,5 mm trên mặt (nhưng không được dán ở mép) của các cửa dạng bản lề đã đảm bảo chỉ tiêu về cách nhiệt (theo quy trình thử nghiệm thông thường hoặc quy trình thử nghiệm bổ sung).
- Các lớp trang trí mỏng hoặc lớp gỗ bọc dày quá 1,5 mm trên bề mặt của cánh cửa phải được thử nghiệm như một phần của cụm cửa. Đối với mọi sản phẩm được thử nghiệm có bề mặt trang trí bằng lớp mỏng chỉ có thể thay đổi nếu sử dụng cùng chủng loại và chiều dày của vật liệu (ví dụ thay đổi về mầu sắc, mẫu mã và nhà sản xuất).
13.2.4 Khuôn cửa
Có thể tăng số lượng của các chi tiết cố định được sử dụng để lắp đặt cửa chịu lửa vào kết cấu gá đỡ, nhưng không được giảm. Khoảng cách giữa các chi tiết cố định có thể giảm nhưng không được tăng.
13.2.5 Phụ kiện
Cho phép có những thay đổi về phụ kiện nếu những phụ kiện thay thế vào đã được kiểm tra và khẳng định về khả năng làm việc trong các cụm cửa khác có cấu hình tương tự.
Có thể tăng số lượng của các phụ kiện giúp cố định cửa như chốt, then cài và bản lề nhưng không được giảm.
13.3 Thay đổi cho phép về kích cỡ
13.3.1 Nguyên tắc chung
Cho phép thay đổi trong một phạm vi nhất định về kích cỡ so với các mẫu đã được thử nghiệm nhưng những thay đổi đó phụ thuộc vào dạng sản phẩm và khoảng thời gian mà mẫu có thể đảm bảo duy trì khả năng làm việc trong điều kiện tác động của lửa thử nghiệm.
13.3.2 Khoảng thời gian thử nghiệm
Mức độ cho phép thay đổi về kích cỡ phụ thuộc vào kết quả thử nghiệm mẫu thuộc nhóm A hay nhóm B. Cụ thể như sau: các mẫu có thời gian đảm bảo sự làm việc bình thường trong quá trình thử nghiệm vừa bằng với thời gian yêu cầu về phân loại chịu lửa, được xếp vào nhóm A. Các mẫu có thời gian đảm bảo sự làm việc bình thường trong quá trình thử nghiệm dài hơn so với thời gian yêu cầu về phân loại chịu lửa, được xếp vào nhóm B.
Để được xếp vào nhóm B, cần đảm bảo khoảng vượt trội về thời gian làm việc như Bảng 1:
Bảng 1: Yêu cầu khoảng vượt trội về thời gian làm việc của mẫu thử để đạt kết quả thuộc nhóm B
| Thời gian theo phân loại min | Thời gian yêu cầu mẫu đảm bảo sự làm việc bình thường trong điều kiện thử nghiệm, min |
| 15 | 18 |
| 20 | 24 |
| 30 | 36 |
| 45 | 52 |
| 60 | 68 |
| 90 | 100 |
| 120 | 132 |
| 180 | 196 |
| 240 | 260 |
13.3.3 Thay đổi về kích cỡ có liên quan đến dạng của sản phẩm
13.3.3.1 Nguyên tắc chung
Nguyên tắc chung để xem xét tăng hoặc giảm kích cỡ mà không cần quan tâm đến những yếu tố khác chỉ có thể áp dụng cho 5 nhóm sản phẩm chính như sau:
a) Các cửa bản lề hoặc xoay quanh trục đứng;
b) Các cửa trượt theo phương nằm ngang và trượt theo phương thẳng đứng kể cả cửa toàn mảng;
c) Cửa chắn dạng sắt xếp có 1 lớp vỏ bằng kim loại (không cách nhiệt);
d) Các loại cửa đi dạng trượt cánh gấp;
e) Cửa cuốn.
Không cho phép tăng kích thước đối với cửa chỉ đảm bảo tiêu chí về bức xạ nhiệt trừ khi tiêu chí về cách nhiệt cũng được đảm bảo. Nguyên nhân là do mọi sự tăng về kích cỡ sẽ làm tăng mức độ tiếp nhận bức xạ nhiệt tại một vị trí cách cửa một khoảng không đổi. Có các phương pháp tính toán sử dụng để xác định mức độ tăng kích thước có thể chấp nhận được đối với các cửa như vậy; tuy nhiên điều này nằm ngoài phạm vi của vấn đề những ứng dụng trực tiếp. Các cửa thỏa mãn cả tiêu chí bức xạ nhiệt và cách nhiệt có thể được tăng kích thước theo những hướng dẫn trong Phụ lục B. Điều này có thể chấp nhận được vì đối với cửa cách nhiệt, sự tăng nhiệt lượng bức xạ do tăng kích thước trong phạm vi cho phép của Phụ lục B sẽ vẫn thỏa mãn tiêu chí về bức xạ nhiệt. Việc giảm kích thước có thể áp dụng được cho cả các cửa chỉ thỏa mãn tiêu chí về bức xạ nhiệt và các cửa thỏa mãn cả tiêu chí về bức xạ nhiệt và tiêu chí về cách nhiệt.
Những thay đổi cho phép đối với từng nhóm sản phẩm được trình bày trong Phụ lục B.
Việc tăng kích cỡ đối với các sản phẩm không nằm trong số 5 nhóm cửa nêu ở trên phải được xem xét ở khía cạnh áp dụng mở rộng của các kết quả thử nghiệm.
13.3.3.2 Các cửa bản lề và xoay quanh trục đứng
a) Về thay đổi kích cỡ
- Không cho phép có thay đổi về kích cỡ đối với các sản phẩm có kết quả thử nghiệm thuộc nhóm A, tức là khoảng thời gian đảm bảo sự làm việc bình thường trong điều kiện thử nghiệm chỉ vừa bằng thời gian yêu cầu trong phân loại chịu lửa. Ngoài cửa kim loại có yêu cầu hạn chế về giảm kích cỡ, còn lại các cửa khác cho phép giảm kích cỡ không hạn chế so với mẫu đã được thử nghiệm.
- Đối với các sản phẩm có kết quả thử nghiệm thuộc nhóm B, tức là có khoảng thời gian đảm bảo sự làm việc bình thường trong điều kiện thử nghiệm dài hơn so với thời gian yêu cầu trong phân loại chịu lửa, chỉ cho phép tăng kích cỡ nếu các khe hở được đặt ở giá trị nằm giữa giá trị trung bình và giá trị lớn nhất của khe hở cho phép do người đặt hàng thử nghiệm cung cấp, như nêu trong 7.3. Nếu các khe hở không đạt theo yêu cầu nêu trong 7.3 thì không được phép tăng kích thước theo quy định áp dụng đối với khoảng thời gian vượt trội như nhóm B. Tuy nhiên các kết quả thử nghiệm vẫn có thể áp dụng được cho những cụm cửa có khe hở nhỏ hơn giá trị trung bình giữa giá trị khe hở lớn nhất và khe hở trung bình do người đặt hàng thử nghiệm quy định.
b) Những thay đổi khác
- Không được thay đổi về cấu tạo của những phụ kiện giúp cố định cửa (ví dụ khóa, then cài, v.v) trong các cửa có kích cỡ nhỏ. Có thể thay đổi khoảng cách giữa những phụ kiện đó nhưng phải đảm bảo không vượt quá giá trị giới hạn theo tỷ lệ giảm so với mẫu đã được thử nghiệm.
- Đối với các cửa có kích thước lớn, phải áp dụng thêm những quy định như sau:
+ Chiều cao của then cài so với mặt nền phải bằng hoặc lớn hơn so với chiều cao tương ứng trong mẫu đã được thử nghiệm, khoảng lớn hơn đó ít nhất phải tính bằng tỷ lệ tăng chiều cao của cửa.
+ Vị trí chiều cao bản lề trên cùng của cửa tính từ mép trên cùng xuống phải nhỏ hơn hoặc bằng so với vị trí tương ứng trong mẫu đã được thử nghiệm.
+ Vị trí chiều cao của bản lề dưới cùng của cửa tính từ mép dưới cùng lên phải nhỏ hơn hoặc bằng so với vị trí tương ứng trong mẫu đã được thử nghiệm.
+ Nếu cửa sử dụng 3 bản lề hoặc bộ phận chống vặn cửa thì khoảng cách từ mép dưới cùng của cửa đến bộ phận chống vặn ở giữa phải lớn hơn hoặc bằng so với mẫu đã được thử nghiệm.
c) Tấm bịt cố định cạnh cửa và Tấm bịt cố định phía trên.
- Nguyên tắc cho phép về thay đổi kích thước các Tấm bịt cố định phía trên và Tấm bịt cố định cạnh cửa của sản phẩm thực so với mẫu đã được thử nghiệm giống hoàn toàn với những nguyên tắc chung áp dụng cho cửa bản lề. Nếu chỉ có một Tấm bịt cố định cạnh cửa được thử nghiệm do kích thước hạn chế của lò thử nghiệm (3 m x 3 m), thì phải tiến hành thử nghiệm ở bên có then khóa. Tấm bịt cố định cạnh cửa phải được thử nghiệm với kích thước lớn nhất mà lò thử nghiệm có thể đáp ứng được và phải đảm bảo có khoảng thời gian vượt trội như nhóm B. Có thể bổ sung thêm Tấm bịt cố định cạnh cửa thứ hai với kích thước tương tự vào bên không có then khóa của cửa. Với việc bổ sung Tấm bịt cố định cạnh cửa thứ hai, mẫu thử nghiệm không được xem là thỏa mãn điều kiện về bức xạ nhiệt trừ khi mẫu thử nghiệm đó thỏa mãn cả tiêu chí về cách nhiệt theo những quy định trong 13.3.3.1.
- Kết quả của thử nghiệm trên một cụm cửa có một tấm bịt cố định cạnh cửa ở phía có then khóa cũng có thể áp dụng được cho các cụm cửa tương tự nhưng không có Tấm bịt cố định cạnh cửa.
d) Bộ phận bằng gỗ
Không được thay đổi về số lượng, kích cỡ, vị trí và góc độ của tất cả những mạch ghép trong khung gỗ.
- Nếu mẫu cửa có các tấm bọc trang trí hoặc bề mặt phủ trang trí có chiều dày lớn hơn hoặc bằng 1,5 mm hoặc có các dạng bọc bề mặt khác giúp làm tăng cường khả năng làm việc thì không được thay thế chúng bằng những chi tiết có chiều dày hoặc cường độ thấp hơn.
13.3.3.3 Cửa trượt theo phương ngang và trượt theo phương đứng bao gồm cả cửa toàn mảng
- Về thay đổi kích cỡ xem Phụ lục B.
- Đối với những mẫu đã được thử nghiệm thuộc nhóm A cho phép giảm kích thước không hạn chế ngoại trừ các cửa kim loại có cách nhiệt phải hạn chế việc giảm kích cỡ.
- Đối với những mẫu đã được thử nghiệm thuộc nhóm B cho phép áp dụng kết quả với tất cả các cụm cửa tương tự có kích thước nhỏ hơn và các cửa có chiều cao và chiều rộng lớn hơn.
- Đối với các tấm có kích thước điển hình được thử nghiệm ở kích cỡ lớn nhất cho phép của lò thử nghiệm (tức rộng 2,6 m, cao 2,8 m trong lò có kích thước tiêu chuẩn là 3 m x 3 m) thì có thể tăng chiều cao và/hoặc chiều rộng nhưng phải đảm bảo diện tích không được vượt quá 50 % so với diện tích mẫu đã được thử nghiệm. Ngoài ra, đối với các mẫu ghép bằng nhiều tấm phải có ít nhất một tấm có kích thước đầy đủ và phải bao gồm cấu tạo của các mạch ghép nối ở mỗi đầu.
- Chỉ có thể chấp nhận sự gia tăng về chiều rộng và chiều cao như đề cập ở trên nếu khoảng ghép chồng ở mặt sau và phía trên của cửa được điều chỉnh để làm tăng mức độ kín khít của chi tiết ráp nối giữa cánh và khuôn của các cửa trượt, cửa cuốn (xem Hình 32) theo tỷ lệ 10 mm cho 1 m gia tăng về kích thước.

CHÚ DẪN:
A- Khoảng cách thông thủy giữa các mép trong của thanh dẫn hướng
B- Bề rộng của màng cửa xếp
C- Khoảng cách giữa các thanh dẫn hướng theo phương đứng
1- Độ kín
2- Độ ghép chồng
Hình 32: Độ kín khít của phần tiếp giáp với thanh dẫn hướng trong cửa xếp và cửa cuốn: a) Cửa xếp; b) Cửa cuốn
13.3.3.4 Cửa chắn dạng xếp có 1 lớp vỏ bằng kim loại (không cách nhiệt)
- Về thay đổi kích cỡ xem Phụ lục B.
- Đối với những mẫu đã được thử nghiệm thuộc nhóm A, cho phép giảm kích thước, nhưng không được phép tăng kích thước.
- Đối với những mẫu đã được thử nghiệm thuộc nhóm B, cho phép áp dụng kết quả với các cụm cửa có kích thước nhỏ hơn. Cho phép tăng chiều cao, chiều rộng nhưng phải giữ nguyên các kích thước điển hình.
- Đối với các tấm có kích thước điển hình được thử nghiệm ở kích cỡ lớn nhất cho phép của lò thử nghiệm (tức rộng 2,6 m, cao 2,8 m trong lò có kích thước tiêu chuẩn là 3 m x 3 m) thì có thể tăng chiều cao và/hoặc chiều rộng nhưng phải đảm bảo diện tích không được vượt quá 50 % so với diện tích của mẫu đã được thử nghiệm. Ngoài ra, đối với các mẫu ghép bằng nhiều tấm phải có ít nhất một tấm có kích thước đầy đủ và phải bao gồm cấu tạo của các mạch ghép nối ở mỗi đầu.
- Chiều dày của vật liệu có thể tăng tối đa thêm 50 % so với chiều dày tương ứng của mẫu đã được thử nghiệm nhưng không được phép giảm quá dung sai cho phép về gia công thép.
13.3.3.5 Cửa đi dạng trượt cánh gấp (có cách nhiệt)
- Về thay đổi kích cỡ xem Phụ lục B.
- Đối với những mẫu đã được thử nghiệm có kết quả thuộc nhóm A, cho phép giảm kích thước nhưng phải tuân theo những hạn chế quy định trong Phụ lục B. Không được phép tăng kích thước.
- Đối với những mẫu đã được thử nghiệm có kết quả thuộc nhóm B, cho phép áp dụng kết quả với các cụm cửa có kích thước nhỏ hơn. Cho phép tăng chiều cao, chiều rộng nhưng phải tuân theo những hạn chế quy định trong Phụ lục B.
13.3.3.6 Cửa cuốn
- Nguyên tắc đối với phạm vi áp dụng trực tiếp cho cửa cuốn không áp dụng được cho các cửa cuốn được làm mát bằng nước.
- Về thay đổi kích cỡ xem Phụ lục B.
- Đối với cửa chắn không cách nhiệt có thể tăng chiều dày của vật liệu lên thêm tối đa là 50 % so với chiều dày tương ứng của mẫu đã được thử nghiệm nhưng không được giảm quá dung sai cho phép trong gia công chế tạo thép.
- Đối với các cửa chắn có cách nhiệt, chiều dày của vật liệu không được thay đổi vượt quá dung sai cho phép về chiều dày trong gia công chế tạo thép.
- Chiều dày của thanh dẫn hướng hai bên và con lăn đỡ các tấm đầu mút có thể tăng thêm tối đa 50 % so với chiều dày tương ứng của mẫu đã được thử nghiệm nhưng không được giảm quá dung sai cho phép trong gia công chế tạo thép.
- Sự gia tăng về khoảng thông thủy giữa các đầu của thanh nẹp cửa chắn và bề mặt trong của thanh dẫn hướng hai bên phải tỷ lệ với sự gia tăng của thanh nẹp (xem Hình 32). Trong trường hợp giảm kích thước, không được giảm độ khít (ghép chồng) giữa tấm màng cửa và các thanh dẫn hai bên, nhưng trong trường hợp tăng kích thước thì cho phép tăng tỷ lệ.
13.4 Những cụm cửa có cấu tạo đối xứng
13.4.1 Tổng quát
TCVN 9311:2012 quy định đối với các bộ phận ngăn cách yêu cầu có khả năng chịu lửa ở cả hai phía thì phải tiến hành thử nghiệm trên hai mẫu, mỗi mẫu chịu tác động của lửa ở một phía trừ khi bộ phận đó hoàn toàn đối xứng. Như vậy, trong một số trường hợp có thể đưa ra những quy tắc nhờ đó khả năng chịu lửa của một cụm cửa đối xứng được thử nghiệm ở một phía có thể áp dụng nếu đám cháy tác động ở phía bên kia. Khả năng đưa ra những quy tắc như vậy sẽ tăng lên nếu chỉ xem xét một số dạng cụm cửa nhất định và với chỉ tiêu đang đánh giá, ví dụ chỉ tiêu tính toàn vẹn của cửa. Những quy tắc trình bày dưới đây được coi là những quy tắc tối thiểu phải tuân thủ. Phụ lục C trình bày các cơ sở để xây dựng lên các quy tắc này.
13.4.2 Những quy tắc cụ thể
Các quy tắc quyết định đến khả năng áp dụng kết quả thử nghiệm thực hiện trên một mặt của cửa cho mặt kia được trình bày trong Bảng 2. Những quy tắc đó dựa trên các giả thuyết sau:
- Bản thân các tấm cánh cửa có cấu trúc đối xứng, nhưng các cạnh thì không đối xứng, ví dụ cửa có hai rãnh soi.
- Tất cả những bộ phận để cố định/giữ làm bằng kim loại đều có độ nóng chảy thích hợp để không bị chảy ra dưới điều kiện nhiệt độ của thử nghiệm.
- Không có thay đổi gì về số lượng tấm cánh cửa hoặc dạng vận hành của cánh cửa, ví dụ trượt, gập, mở về một phía, mở về hai phía.
Bảng 2 liệt kê các dạng cụm cửa có thể đề ra được những quy định và mặt cần thử nghiệm để có thể áp dụng chung cho cả mặt đối diện. Việc bố trí tách biệt giữa hai cột tính toàn vẹn và tính cách nhiệt phản ánh sự khác nhau về mức độ có thể đề ra các nguyên tắc đối với các cửa chỉ xem xét tính toàn vẹn, ngược hẳn với các cửa đòi hỏi thỏa mãn cả 2 tiêu chí. Dấu tích (P) tức là có thể xác định được mặt cần thử nghiệm để kết quả áp dụng được cho mặt đối diện. Dấu gạch chéo (X) tức là không thể xác định được mặt cần thử nghiệm để kết quả có thể áp dụng cho mặt đối diện.
Bảng 2: Các dạng cụm cửa và hướng tiến hành thử nghiệm để áp dụng kết quả cho mặt đối diện
| Dạng cụm cửa | Mặt cần thử nghiệm để áp dụng kết quả cho mặt đối diện | Tính toàn vẹn | Tính cách nhiệt | Tính bức xạ nhiệt (nếu cần) |
| Cửa bản lề hoặc xoay quanh trục đứng, tấm cánh và khuôn bằng gỗ | Mở vào phía trong lò | P | P | P |
| Cửa bản lề hoặc xoay quanh trục đứng, tấm cánh bằng gỗ, khuôn bằng kim loại, không có Tấm bịt cố định phía trên | Mở vào phía trong lò | P | X | P |
| Cửa bản lề tấm cánh bằng kim loại, khuôn kim loại (không xoay quanh trục đứng) | Mở ra phía ngoài lò | P | X | P |
| Cửa cuốn | Trục lăn và các bộ phận đỡ nằm ở phía tiếp xúc với lửa | P | X | 1) |
| Cửa dạng trượt cánh gấp | Các bộ phận đỡ tấm trượt/xếp nằm ở phía tiếp xúc với lửa | P | X | 1) |
| CHÚ THÍCH: 1) Phần áp dụng mở rộng dựa trên cơ sở tính toán mức độ bức xạ | ||||
13.5 Các kết cấu gá đỡ
13.5.1 Nguyên tắc chung
Khả năng chịu lửa của một cụm cửa được thử nghiệm trong một dạng kết cấu gá đỡ tiêu chuẩn nào đó có thể hoặc không thể áp dụng được cho các cửa thực tế nếu lắp đặt trong những dạng kết cấu khác. Nhìn chung, các kết quả thử nghiệm trên kết cấu gá đỡ dạng cứng không thể thay thế cho kết quả thử nghiệm trên kết cấu gá đỡ dạng mềm và ngược lại. Nguyên tắc quyết định phạm vi áp dụng trực tiếp cho từng nhóm kết cấu gá đỡ được trình bày trong 13.5.2 đến 13.5.4. Tuy nhiên, trong một số trường hợp kết quả thử nghiệm của một dạng cụm cửa nhất định trên một kết cấu gá đỡ tiêu chuẩn nào đó, có thể áp dụng được cho cụm cửa được gá đỡ trên một dạng kết cấu gá đỡ khác. Nguyên tắc cơ bản quyết định cho trường hợp của cửa bản lề và cửa xoay quanh trục đứng được trình bày trong 13.5.5. Cơ sở để đưa ra những nguyên tắc đó được nêu trong Phụ lục C.
13.5.2 Các kết cấu gá đỡ tiêu chuẩn dạng cứng có khối lượng thể tích lớn
Khả năng chịu lửa của cụm cửa được thử nghiệm trong một kết cấu gá đỡ dạng cứng, như quy định trong TCVN 9311:2012 có thể áp dụng được đối với các cụm cửa lắp đặt theo cùng phương pháp, trong tường có độ cứng quy định như sau:
a) Tường xây hoặc bê tông nhẹ có khối lượng thể tích tối thiểu bằng 800 kg/m3 và có chiều dày tối thiểu như sau:
+ 100 mm đối với sản phẩm có yêu cầu chịu lửa đến 90 min;
+ 150 mm đối với sản phẩm có yêu cầu chịu lửa lớn hơn 90 min;
b) Tường bê tông đặc hoặc khối bê tông có khối lượng thể tích tối thiểu khoảng 1 200 kg/m3 với chiều dày như quy định trong 13.5.2 a).
13.5.3 Các kết cấu gá đỡ tiêu chuẩn dạng cứng có khối lượng thể tích nhỏ
Khả năng chịu lửa của cụm cửa được thử nghiệm trong một kết cấu gá đỡ dạng cứng như quy định trong TCVN 9311:2012 có thể áp dụng được đối với các cụm cửa lắp đặt theo cùng phương pháp, trong tường có độ cứng, khối lượng thể tích và chiều dày lớn hơn hoặc bằng với kết cấu tường đã được thử nghiệm.
13.5.4 Các kết cấu gá đỡ dạng mềm
- Khả năng chịu lửa của cụm cửa được thử nghiệm trong một kết cấu gá đỡ dạng mềm như quy định trong TCVN 9311:2012 có thể áp dụng được đối với các cụm cửa lắp đặt theo cùng phương pháp trong tường hoặc vách ngăn cấu tạo từ các tấm bịt bên ngoài, bên trong có các thanh sườn làm bằng thép hoặc gỗ.
- Khả năng chịu lửa của cửa chỉ có thể áp dụng được cho các cửa được lắp trong vách ngăn có khả năng chịu lửa lớn hơn hoặc bằng với khả năng chịu lửa của vách ngăn đã được thử nghiệm.
- Khả năng chịu lửa của vách ngăn phải được xác định bằng một thử nghiệm độc lập trước khi tiến hành thử nghiệm cùng với cửa.
13.5.5 Quy tắc riêng đối với các cụm cửa bản lề hoặc cửa xoay quanh trục đứng
a) Đối với các tấm cánh cửa gỗ lắp trên khuôn bằng gỗ kết quả của thử nghiệm trong kết cấu gá đỡ tiêu chuẩn dạng cứng có thể ứng dụng được cho các cụm cửa tương tự lắp đặt trên kết cấu gá đỡ dạng mềm.
Đối với các tấm cánh cửa gỗ lắp trên khuôn bằng gỗ kết quả của thử nghiệm trong kết cấu gá đỡ tiêu chuẩn dạng mềm có thể ứng dụng được cho các cụm cửa tương tự lắp đặt trên kết cấu gá đỡ dạng cứng.
b) Đối với các tấm cánh cửa gỗ lắp trên khuôn bằng kim loại kết quả của thử nghiệm trong kết cấu gá đỡ dạng mềm có thể ứng dụng được cho các cụm cửa tương tự lắp đặt trên kết cấu gá đỡ dạng cứng nhưng không có điều ngược lại.
c) Đối với các tấm cánh cửa kim loại lắp trên khuôn bằng kim loại không được ứng dụng kết quả của thử nghiệm trong kết cấu gá đỡ dạng cứng cho các cụm cửa tương tự lắp đặt trên kết cấu gá đỡ dạng mềm và ngược lại.
d) Đối với các cửa đi không cách nhiệt, có thể sử dụng các kết quả của thử nghiệm trong kết cấu gá đỡ dạng cứng cho các cửa tương tự lắp đặt trên các kết cấu gá đỡ dạng mềm, nhưng không có điều ngược lại.
Các quy tắc trên giả thiết rằng phương pháp cố định được sử dụng trong mỗi dạng kết cấu gá đỡ đều phù hợp với dạng kết cấu đó. Ví dụ trong a), thử nghiệm thực hiện trên tấm cửa bằng gỗ lắp trong khuôn gỗ sẽ phải được thực hiện có các chi tiết cố định phù hợp với việc lắp đặt khuôn gỗ trong kết cấu gá đỡ dạng cứng. Kết quả ứng dụng cho tấm cửa bằng gỗ kết hợp khuôn gỗ lắp đặt trong kết cấu gá đỡ dạng mềm có các chi tiết cố định phù hợp với việc lắp đặt khuôn gỗ trong kết cấu gá đỡ dạng mềm.
13.6 Các kết cấu gá đỡ thực tế
Không có phạm vi áp dụng trực tiếp về khả năng chịu lửa của các cụm cửa được thử nghiệm trong kết cấu gá đỡ thực tế. Khả năng áp dụng kết quả cho các kết cấu gá đỡ khác phải tuân theo quy định trong phạm vi áp dụng mở rộng.
Phụ lục A
(Tham khảo)
Những yêu cầu cần đảm bảo đối với kết cấu gá đỡ
A.1 Nguyên tắc chung
TCVN 9311:2012 quy định mẫu thử nghiệm phải được dưỡng hộ đầy đủ để đạt được trạng thái về cường độ và độ ẩm giống như trạng thái trong quá trình làm việc thực tế. Đối với các kết cấu gá đỡ bằng khối xây hoặc bê tông thì điều này khó có thể thực hiện được vì đòi hỏi phải có thời gian dài, có thể lên đến vài tháng.
Mục đích của phụ lục này là chỉ ra những yêu cầu cần đảm bảo đối với các kết cấu gá đỡ. Để chỉ ra được những yêu cầu đó, cần xem xét đến các khía cạnh của quá trình dưỡng hộ (độ ẩm, cường độ) có thể tác động đến khả năng chịu lửa của kết cấu mẫu thử nghiệm (tính toàn vẹn và tính cách nhiệt). Những yêu cầu đó thể hiện sự dung hòa giữa tiêu chí là mẫu phải được thử nghiệm sau khi đã dưỡng hộ đầy đủ với tính khả thi trong khả năng của phòng thử nghiệm.
Các yêu cầu này áp dụng chung cho cả kết cấu gá đỡ tiêu chuẩn và kết cấu gá đỡ thực tế.
A.2 Các yêu cầu
A.2.1 Kết cấu gá đỡ bằng bê tông hoặc khối xây
Kết cấu gá đỡ bằng bê tông hoặc khối xây có sử dụng các loại vữa trộn dùng nước, theo quy định trong TCVN 9311:2012 thì phải được dưỡng hộ tối thiểu là 28 ngày trước khi thử nghiệm.
Các tường thể xây được cấu tạo bằng những viên vữa đã được dưỡng hộ phù hợp với TCVN 9311:2012 và có sử dụng những dạng keo gắn kết đặc biệt đóng rắn trong khoảng thời gian ngắn phải được dưỡng hộ trong khoảng thời gian thích hợp đủ để loại keo gắn kết đặc biệt đó đóng rắn hoàn toàn hoặc trong vòng 24 h, áp dụng trị số lớn hơn.
A.2.2 Các kết cấu gá đỡ tiêu chuẩn có khối lượng thể tích nhỏ
Kết cấu gá đỡ tiêu chuẩn có khối lượng thể tích nhỏ, ví dụ những dạng nêu trong TCVN 9311:2012, phải được dưỡng hộ phù hợp với các quy định trong TCVN 9311:2012, ngoại trừ các vật liệu chèn, chít mạch như tấm thạch cao được sử dụng để chèn mối nối giữa các lớp ngoài của tấm bề mặt thì chỉ cần thời gian dưỡng hộ là 24 h.
A.2.3 Các vật liệu chít mạch có tính hút ẩm
Các vật liệu có tính hút ẩm được sử dụng để bịt khe hở giữa kết cấu gá đỡ và cụm cửa với bề rộng khe hở nhỏ hơn hoặc bằng 10 mm phải được dưỡng hộ 7 ngày trước khi thử nghiệm.
Các vật liệu có tính hút ẩm được sử dụng để bịt khe hở giữa kết cấu gá đỡ và cụm cửa với bề rộng khe hở lớn hơn 10 mm phải được dưỡng hộ 28 ngày trước khi thử nghiệm.
A.2.4 Khuôn cửa có bộ phận làm từ vật liệu dùng nước trộn
Các khuôn cửa có kết hợp bộ phận làm từ vật liệu dùng nước trộn (ví dụ khuôn thép có vỏ bọc hoặc các khuôn làm từ vữa dính kết nhờ áp lực) phải được dưỡng hộ 28 ngày trước khi thử nghiệm.
Phụ lục B
(Tham khảo)
Phạm vi ứng dụng trực tiếp - Các giới hạn về thay đổi kích thước cho phép
Bảng B.1 - Phạm vi ứng dụng trực tiếp - Các giới hạn về thay đổi kích thước cho phép
| Dạng cửa | Chấp nhận đối với nhóm A | Chấp nhận đối với nhóm B |
| a) Cửa bản lề hoặc xoay quanh trục đứng | Giảm kích thước không hạn chế đối với tất cả các dạng cửa, trừ các cửa thép cách nhiệt, có giới hạn giảm chiều rộng là 50 % và chiều cao là 75 % so với kích thước tương ứng của mẫu đã được thử nghiệm. Không cho phép tăng kích thước. | Giảm kích thước không hạn chế đối với tất cả các dạng cửa, trừ các cửa thép cách nhiệt có giới hạn giảm chiều rộng là 50 % và chiều cao là 75 % so với kích thước tương ứng của mẫu đã được thử nghiệm. Cho phép tăng kích thước ngoại trừ đối với những cửa phải thỏa mãn yêu cầu về tính toàn vẹn và tính bức xạ nhiệt chỉ được tăng tối đa theo những giới hạn sau: 15 % về chiều cao 15 % về chiều rộng 20 % về diện tích |
| b) Các cửa trượt theo phương nằm ngang hoặc thẳng đứng | Giảm kích thước không hạn chế đối với tất cả các dạng cửa, trừ các cửa thép cách nhiệt, có giới hạn giảm chiều rộng là 50 % và chiều cao là 75 % so với kích thước tương ứng của mẫu đã được thử nghiệm. Không cho phép tăng kích thước | Giảm kích thước không hạn chế đối với tất cả các dạng cửa. Cho phép tăng kích thước, ngoại trừ đối với những cửa phải thỏa mãn yêu cầu về tính toàn vẹn và tính bức xạ nhiệt chỉ được tăng tối đa theo những giới hạn sau: 50 % về chiều cao 50 % về chiều rộng 50 % về diện tích |
| c) Cửa chắn dạng sắt xếp có 1 lớp vỏ bằng kim loại (không cách nhiệt) | Giảm kích thước không hạn chế. Không cho phép tăng kích thước | Giảm kích thước không hạn chế đối với tất cả các dạng cửa. Cho phép tăng kích thước, ngoại trừ đối với những cửa phải thỏa mãn yêu cầu về tính toàn vẹn chỉ được tăng tối đa theo những giới hạn sau: 50 % về chiều cao 50 % về chiều rộng 50 % về diện tích |
| d) Cửa đi dạng trượt cánh gấp các loại | Giảm kích thước không hạn chế đối với tất cả các dạng cửa, trừ các cửa thép cách nhiệt, có giới hạn giảm chiều rộng là 50 % và chiều cao là 75 % so với kích thước tương ứng của mẫu thử nghiệm. Không cho phép tăng kích thước | Giảm kích thước không hạn chế đối với tất cả các dạng cửa, trừ các cửa thép cách nhiệt, có giới hạn giảm chiều rộng là 50 % và chiều cao là 75 % so với kích thước tương ứng của mẫu thử nghiệm. Cho phép tăng kích thước, ngoại trừ đối với những cửa phải thỏa mãn yêu cầu về tính toàn vẹn và tính bức xạ nhiệt chỉ được tăng tối đa theo những giới hạn sau: 15 % về chiều cao 15 % về chiều rộng 20 % về diện tích |
| e) Cửa cuốn | Giảm kích thước không hạn chế. Không cho phép tăng kích thước | Giảm kích thước không hạn chế. Cho phép tăng kích thước, ngoại trừ đối với những cửa thỏa mãn yêu cầu về tính toàn vẹn và tính bức xạ nhiệt chỉ được tăng tối đa theo những giới hạn sau: 30 % về chiều cao 10 % về chiều rộng |
Phụ lục C
(Tham khảo)
Cơ sở chung cho những quy tắc đưa ra Phạm vi ứng dụng trực tiếp của kết quả thử nghiệm khi xem xét yếu tố mẫu thử có kết cấu đối xứng và yếu tố kết cấu gá đỡ khi thử nghiệm
C.1 Nguyên tắc chung
Phụ lục này trình bày cơ sở của những quy định về phạm vi ứng dụng trực tiếp được đưa ra trong 13.4 đối với các cụm cửa được thử nghiệm từ một phía và trong 13.5 về phạm vi ứng dụng kết quả của một số dạng cửa khi lắp đặt trong những dạng kết cấu gá đỡ khác với kết cấu gá đỡ đã sử dụng trong thử nghiệm.
Trong phụ lục này, có hai dạng cửa được xem xét là cửa gỗ và cửa kim loại. Cửa gỗ hoặc khuôn gỗ là bộ phận mà kết cấu chính và những bộ phận cơ bản được làm bằng gỗ các loại, ví dụ: gỗ cứng, gỗ mềm, tấm ép từ mùn cưa, tấm ép dăm bào, tấm liền, gỗ dán, tấm ép dạng sợi có khối lượng trung bình và các dạng vật liệu gốc cellulosic khác. Cánh cửa kim loại hoặc khuôn kim loại là các cánh hoặc khuôn cửa có kết cấu chính và các bộ phận cơ bản làm bằng kim loại như thép, nhôm.
Những cụm cửa đi và cửa chắn làm bằng vật liệu mới hoặc vật liệu tổ hợp hoàn toàn nằm ngoài phạm vi của phụ lục này bởi vì không có đủ thông tin cần thiết về sự làm việc của chúng trong đám cháy để có thể đưa ra hướng dẫn lựa chọn phía làm việc bất lợi nhất dưới tác động của lửa. Ví dụ về những loại vật liệu như vậy bao gồm các cửa có gốc vật liệu vô cơ (cụ thể là Calcium Silicate, Vermiculate, tấm sợi xi măng) và các cửa có gốc chất dẻo (cụ thể như tấm polyester cốt sợi thủy tinh, PVCu). Đối với các cụm cửa được chế tạo từ những loại vật liệu như vậy, mẫu đối xứng cần phải được thử nghiệm tác động từ cả hai phía (tức là mỗi thử nghiệm cần tối thiểu hai mẫu).
Những vấn đề nêu ra dưới đây được dựa trên giả thiết là các phương pháp cố định được sử dụng trong mỗi dạng kết cấu gá đỡ đều phù hợp với dạng kết cấu đó. Theo đó, một thử nghiệm trên cụm cửa trong kết cấu gá đỡ tiêu chuẩn dạng cứng phải được tiến hành với những chi tiết cố định phù hợp cho cụm cửa đó trong kết cấu cứng. Nếu muốn áp dụng kết quả cho một kết cấu dạng mềm thì phải sử dụng các chi tiết cố định thích hợp, thường được dùng để lắp cụm cửa đó vào kết cấu dạng mềm.
C.2 Các cụm cửa bản lề
C.2.1 Nguyên tắc chung
Phụ lục này chỉ đề cập đến ba dạng cơ bản của các cửa bản lề hoặc cửa xoay quanh trục đứng bao gồm: cánh gỗ trong khuôn gỗ, cánh gỗ trong khuôn kim loại và cánh kim loại trong khuôn kim loại. Mỗi dạng đều có cách ứng xử khác nhau và do vậy chiều làm việc yếu nhất của dạng này có thể không giống với dạng khác. Ngoài ra, chiều làm việc yếu nhất về tính toàn vẹn cũng không nhất thiết trùng với chiều làm việc yếu nhất về tính cách nhiệt. Do vậy mỗi loại cụm cửa cần được xem xét độc lập trên các khía cạnh về tính toàn vẹn và tính cách nhiệt. Sự làm việc của các kết cấu gá đỡ cũng được xem xét. Hình C.1 thể hiện ví dụ về sự tương tác của kết cấu gá đỡ cánh/khuôn cửa.
C.2.2 Tấm cánh cửa gỗ lắp trong các khuôn gỗ
C.2.2.1 Tính toàn vẹn
C.2.2.1.1 Tương tác giữa cánh và khuôn
Do đặc tính của gỗ, khi cháy thì co lại, phần cánh cửa tiếp xúc với lửa sẽ bị co lại so với phía không tiếp xúc với lửa gây ra hiện tượng tấm cánh cửa có xu hướng bị cong về phía có ngọn lửa tại các mép trên và mép dưới. Khuôn cửa cũng có ứng xử tương tự, nhưng do nó bị cố định vào kết cấu gá đỡ và nhìn chung thì khuôn cửa luôn có chiều dày lớn hơn hoặc tiết diện gỗ to hơn nên độ cứng lớn hơn, nhờ vậy khuôn thường không dịch chuyển nhiều như tấm cánh. Xem Hình C.1.
Nếu cửa mở về phía đám cháy, theo mô tả ở trên, cạnh dưới cùng và trên cùng của tấm cửa có xu hướng bị cong về phía đám cháy và tách ra xa hèm cửa. Hiện tượng này tạo điều kiện cho ngọn lửa và khí nóng phía trong lò có thể thoát ra ngoài, được hỗ trợ bởi áp suất dương ở phía trong lò sẽ gây nên hư hỏng về tính toàn vẹn. Nếu cửa mở ra phía ngoài lò thì cạnh trên cùng và dưới cùng có xu hướng bị cong về phía đám cháy tức là về phía hèm cửa do vậy sẽ làm tăng cường khả năng làm việc của cụm cửa.
C.2.2.1.2 Kết cấu gá đỡ
Kết cấu gá đỡ dạng cứng như mô tả trong TCVN 9311:2012 sẽ có khả năng cản trở tất cả sự cong vênh của khuôn cửa, trong khi đó kết cấu gá đỡ dạng mềm như mô tả trong TCVN 9311:2012 lại có xu hướng làm cho khuôn cửa cong vênh theo chiều ngược lại so với chiều có thể cong vênh một cách tự nhiên như phân tích ở trên. Tuy nhiên do đa số các cụm cửa có kích thước tiết diện của khuôn đủ lớn để không bị cong vênh theo chiều tự nhiên và cũng không bị uốn cong dưới lực tác động của kết cấu gá đỡ mềm do vậy sự lựa chọn kết cấu gá đỡ nhìn chung không quan trọng lắm khi xem xét chiều làm việc yếu nhất trong thử nghiệm.
C.2.2.2 Sự làm việc cách nhiệt
Tấm cánh cửa và khuôn cửa bằng gỗ có khả năng dẫn nhiệt kém là nhân tố quyết định đến sự làm việc cách nhiệt do đó tính cách nhiệt không chịu ảnh hưởng lớn lắm của sự lựa chọn hướng thử của mẫu cửa.
CHÚ THÍCH:
a) Cánh cửa gỗ, khuôn cửa gỗ, mở vào phía trong lò
b) Cánh cửa gỗ, khuôn cửa kim loại, mở vào phía trong lò
c) Cánh cửa kim loại, khuôn cửa kim loại, mở ra phía ngoài lò
CHÚ DẪN:
1- Tương tác giữa tấm cánh cửa và khuôn cửa;
2- Ảnh hưởng của kết cấu gá đỡ dạng mềm như tường xây gạch đặc
3- Ảnh hưởng của kết cấu gá đỡ mềm hoặc kết cấu phụ trợ, ví dụ như trong các vách ngăn
4- Trường hợp bất lợi nhất
Hình C.1 - Tương tác giữa các cánh cửa và khuôn cửa làm bằng những loại vật liệu khác nhau và ảnh hưởng của sự khác nhau về các yếu tố như: kết cấu gá đỡ tiêu chuẩn; kết cấu gá đỡ thực; loại cửa bản lề và cửa xoay
C.2.2.3 Tổng hợp
Để đánh giá một cánh cửa gỗ lắp đặt trong khuôn gỗ, thì thử nghiệm với cánh cửa mở vào trong đám cháy là điều kiện bất lợi nhất cho tính toàn vẹn của mẫu. Với tính cách nhiệt không có chiều làm việc bất lợi nào rõ rệt.
Sự khác nhau giữa ảnh hưởng của các kết cấu gá đỡ cứng với ảnh hưởng của kết cấu gá đỡ mềm là không đáng kể đối với dạng cửa đang đề cập. Do đó có thể ứng dụng các kết quả thử nghiệm của cửa lắp đặt trong kết cấu gá đỡ cứng cho sản phẩm cửa trong thực tế được lắp đặt trong kết cấu gá đỡ mềm và ngược lại.
C.2.3 Tấm cánh gỗ lắp trong khuôn kim loại
C.2.3.1 Tính toàn vẹn
C.2.3.1.1 Tương tác giữa cánh và khuôn
Cánh bằng gỗ sẽ làm việc như mô tả trong C.2.2.1, theo đó mép trên cùng và dưới cùng của nó có xu hướng cong về phía đám cháy. Tuy nhiên sự làm việc của khuôn cửa thì lại khác. Thép giãn nở khi ở nhiệt độ cao do đó khuôn cửa có xu hướng giãn ra ở phía có đám cháy so với phía không có đám cháy vì vậy mép trên cùng và dưới cùng của khuôn cửa có thể uốn cong ra xa khỏi đám cháy. Như vậy xu hướng cong vênh của khuôn cửa ngược hoàn toàn với cánh cửa.
Giống như đã giải thích ở trên, nếu cửa mở về phía có đám cháy thì mép trên cùng và dưới cùng của tấm cánh cửa có xu hướng cong về phía đám cháy và tách ra khỏi hèm cửa. Điều này tạo thuận lợi cho lửa và khí nóng thoát từ trong lò ra ngoài, được phụ thêm bởi áp suất dương phía trong lò sẽ nhanh chóng làm cho mẫu thử nghiệm đạt đến các giới hạn hư hỏng. Xu hướng cong vênh của khuôn thép ngược chiều so với của tấm cửa sẽ làm cho tình trạng hư hỏng trở nên rõ nét hơn. Nếu cửa mở ra phía ngoài của đám cháy, thì mép trên cùng và mép dưới cùng có xu hướng bị cong về phía đám cháy và về phía hèm cửa, điều này có thể giúp tăng cường khả năng làm việc cho mẫu thử nghiệm.
Đối với các cụm cửa có bộ phận sườn ngang, nhiệt độ của thanh sườn ngang nếu cánh cửa mở ra phía ngoài lò thử nghiệm do diện tích bề mặt thép nằm phía tiếp xúc với lửa sẽ cao hơn, hấp thụ được nhiều nhiệt hơn. Hiện tượng này gây nên điều kiện nguy hiểm hơn tại mép trên của tấm cửa do ở vị trí này nhiệt độ cao hơn và gây gia tăng ảnh hưởng của nhiệt độ cao cục bộ.
C.2.3.1.2 Kết cấu gá đỡ
Kết cấu gá đỡ dạng cứng có cấu tạo như nêu trong TCVN 9311:2012 sẽ cản trở tất cả những biến dạng cong vênh của khuôn cửa bằng thép nếu được cố định đầy đủ và hợp lý. Trong khi đó kết cấu gá đỡ dạng mềm có cấu tạo như nêu trong TCVN 9311:2012 sẽ cùng cong vênh theo khuôn, làm gia tăng khe hở giữa tấm cửa và khuôn. Chính vì vậy có thể suy ra rằng đối với cửa cánh gỗ khuôn, kim loại thì phía làm việc nguy hiểm nhất là hướng mà cửa mở vào trong lò và cụm cửa được lắp trong kết cấu gá đỡ dạng mềm.
C.2.3.2 Tính cách nhiệt
Gỗ có tính dẫn nhiệt kém chính là nhân tố quyết định đến tính cách nhiệt của các tấm cánh cửa do vậy cho dù cánh cửa có mở theo chiều nào thì tính cách nhiệt cũng không chịu tác động nhiều.
Tuy nhiên, đối với các khuôn cửa kim loại có thể chứng minh được rằng chiều mở ra phía ngoài lò là chiều bất lợi nhất vì với diện tích bề mặt tiếp xúc với lửa của khuôn lớn hơn (do có thêm cả chiều dày của hèm cửa) sẽ dẫn nhiều nhiệt hơn sang phía không tiếp xúc với lửa ngoài ra phía không tiếp xúc với lửa lại có diện tích bề mặt khuôn nhỏ hơn nên mức độ tỏa nhiệt cũng bị giảm đi. Nhìn chung đối với loại cửa này thường thấy bị hư hỏng về mặt cách nhiệt, do tính toàn vẹn của cửa tốt hơn nên hư hỏng về cách nhiệt thường xuất hiện trước.
C.2.3.3 Tổng hợp
Để đánh giá một tấm cánh cửa lắp trong khuôn thép không có sườn ngang, điều kiện thử nghiệm nguy hiểm nhất về tiêu chí toàn vẹn của mẫu là cửa mở vào phía trong của lò đốt.
Đối với cửa có sườn ngang thì bố trí cửa mở ra phía ngoài lò đốt là điều kiện thử nghiệm nguy hiểm nhất về tiêu chí toàn vẹn.
Khi xem xét tiêu chí cách nhiệt, không có chiều làm việc nguy hiểm rõ rệt nào. Song nhìn chung thì loại cửa này thường được thấy là bị hư hỏng về mặt cách nhiệt trước khi xuất hiện hư hỏng về tính toàn vẹn, ngoài ra sự hư hỏng về cách nhiệt xảy ra một cách độc lập.
Thử nghiệm cụm cửa lắp trong kết cấu gá đỡ dạng mềm là điều kiện nguy hiểm hơn so với lắp trong kết cấu gá đỡ dạng cứng.
C.2.4 Cửa kim loại lắp trong khuôn kim loại
C2.4.1 Tính toàn vẹn
C.2.4.1.1 Tương tác giữa cánh và khuôn
Do kim loại giãn nở trong đám cháy, nên phía tiếp xúc với lửa của tấm cửa sẽ giãn nhiều hơn so với phía không tiếp xúc với vì vậy mép trên cùng và dưới cùng của tấm cánh cửa có xu hướng bị vênh ra xa đám cháy. Sự làm việc của khuôn cửa cũng sẽ tương tự như cánh cửa, nhưng do nó bị cố định vào kết cấu gá đỡ nên có thể biến dạng của khuôn sẽ không nhiều như biến dạng của tâm cánh tùy thuộc vào dạng của kết cấu gá đỡ.
Nếu cánh cửa mở ra xa đám cháy thì mép trên cùng và dưới cùng của cánh sẽ cong ra xa đám cháy và hèm cửa. Điều này tạo cơ hội cho lửa và khí nóng thoát từ trong lò ra ngoài, được hỗ trợ bởi áp suất dương ở bên trong lò sẽ gây nên hư hỏng về tính toàn vẹn. Ngoài ra có thể xuất hiện thêm những hư hỏng về độ kín khít khi kiểm tra bằng cữ đo khe hở. Nếu cửa mở về phía đám cháy, theo mô tả ở trên thì các mép trên cùng và dưới cùng sẽ cong ra xa đám cháy và về hướng của gờ chặn (hèm), như vậy có thể làm tăng khả năng làm việc của cửa.
C.2.4.1.2 Kết cấu gá đỡ
Kết cấu gá đỡ dạng cứng giả thiết là có các chi tiết cố định như quy định trong TCVN 9311:2012 sẽ có xu hướng cản trở tất cả những biến dạng cong vênh của khuôn cửa. Trong khi đó, một cấu kiện gá đỡ dạng mềm có cấu tạo như quy định trong TCVN 9311:2012 có thể có xu hướng cong vênh cùng chiều với khuôn do đó cho phép khuôn cửa cong vênh cùng chiều với cánh cửa. Điều này giảm khả năng hình thành những khe hở giữa tấm cánh cửa và khuôn cửa. Vì vậy có thể suy ra rằng đối với cụm cửa có tấm cánh kim loại lắp trong khuôn kim loại phía làm việc nguy hiểm nhất có thể là cửa mở ra xa đám cháy (phía ngoài của lò thử nghiệm) và cụm cửa được lắp đặt trong kết cấu gá đỡ dạng cứng. Tuy nhiên vẫn có những trường hợp ngoại lệ của điều kiện này do đó không thể đưa ra một nguyên tắc chung nào.
C.2.4.2 Tính cách nhiệt
Có thể chứng minh được rằng cửa mở vào phía trong lò là điều kiện nguy hiểm hơn vì cánh cửa tiếp xúc với lửa trên toàn chiều cao và chiều rộng của nó và không có phần nào của cánh được bảo vệ bởi các mép chặn (hèm). Song cũng có thể chứng minh rằng cánh cửa mở ra phía ngoài là nguy hiểm hơn đối với khuôn vì bề mặt khuôn lộ ra nhiều hơn sẽ dẫn nhiệt sang phía không tiếp xúc với lửa nhiều hơn, ngoài ra ở phía không tiếp xúc với lửa, bề mặt khuôn cho phép tỏa nhiệt lại ít hơn.
Như vậy phần chênh lệch giữa sự làm việc cách nhiệt của cánh cửa và sự làm việc cách nhiệt của khuôn cửa là nhân tố quyết định đến tính cách nhiệt của một cụm cửa hoàn chỉnh. Do có thể chứng minh được rằng tấm cánh cửa sẽ làm việc kém hơn khi mở vào phía trong lò nhưng ngược lại khuôn cửa làm việc kém hơn nếu cánh cửa mở ra phía ngoài lò nên để đánh giá được tính cách nhiệt của một cụm cửa hoàn chỉnh cần phải tiến hành thử nghiệm trên hai cụm mẫu, một mẫu có chiều mở vào phía trong và một mẫu có chiều mở ra phía ngoài lò.
C.2.4.3 Tổng hợp
Để đánh giá tiêu chí toàn vẹn của một cụm cửa có cánh kim loại lắp đặt trong khuôn kim loại thì cần thử nghiệm với chiều làm việc nguy hiểm nhất là cửa mở ra xa đám cháy (phía ngoài lò thử nghiệm).
Khi xem xét tính cách nhiệt, do có thể chứng minh được rằng tấm cánh cửa sẽ làm việc kém hơn khi mở vào phía trong lò nhưng ngược lại khuôn cửa làm việc kém hơn nếu cánh cửa mở ra phía ngoài lò nên để đánh giá được tính cách nhiệt của một cụm cửa hoàn chỉnh cần phải tiến hành thử nghiệm trên hai cụm mẫu, một mẫu có chiều mở vào phía trong và một mẫu có chiều mở ra phía ngoài lò.
Thử nghiệm với cụm cửa lắp đặt trong kết cấu gá đỡ dạng cứng cũng giống như thử nghiệm với cụm cửa lắp đặt trong kết cấu gá đỡ dạng mềm do đó phải tiến hành thử nghiệm riêng biệt đối với từng loại kết cấu gá đỡ.
C.3 Cụm cửa lắp trên trục quay đứng.
C.3.1 Nguyên tắc chung
Phần này chỉ đề cập đến các cụm cửa xoay quanh trục đứng có các trục xoay song song cách đều. Do các cửa xoay quanh một trục đứng ở tâm thường có cấu tạo đối xứng vì vậy không thuộc phạm vi của phần phụ lục này.
Khi xem xét sự hư hỏng về tính toàn vẹn và tính cách nhiệt gây ra dưới tương tác của các loại vật liệu tấm cánh và khuôn khác nhau nhìn chung ảnh hưởng của các kết cấu gá đỡ cũng giống như trong cửa bản lề.
Khác nhau cơ bản của các cụm cửa xoay quanh trục đứng cách đều là: khi tiếp xúc với lửa trong điều kiện của lò thử nghiệm các trục xoay sẽ dẫn truyền một lượng nhiệt đáng kể ngược vào tấm cánh cửa. Điều đó có thể nhanh chóng dẫn đến sự hư hỏng về tính toàn vẹn trong trường hợp các cửa làm bằng gỗ do sự tập trung tác động nhiệt ở những vùng có chi tiết ghim chốt cố định. Ngoài ra đối với các cụm cửa có tấm cửa bằng kim loại, cũng nhanh chóng xuất hiện hư hỏng về mặt cách nhiệt do nhiệt được dẫn ngược trở lại tấm cánh cửa và truyền sang bề mặt không tiếp xúc với lửa. Nếu trục xoay được làm từ vật liệu có điểm nóng chảy (hay nhiệt độ nóng chảy) không đủ cao chúng còn có thể bị chảy ra làm cho các tấm cánh bị rơi xuống thanh bậu cửa dưới chân.
Nếu trục xoay lắp trên bề mặt không tiếp xúc với lửa thì có ít khả năng dẫn truyền ngược nhiệt độ vào tấm cánh cửa cũng như giảm hư hỏng do nguyên nhân nhiệt độ nóng chảy của vật liệu làm trục xoay thấp.
C.3.2 Tổng hợp
Đối với các tấm cánh cửa bằng gỗ lắp trong khuôn gỗ và tấm cánh cửa bằng gỗ lắp trong khuôn kim loại việc xem xét sự hư hỏng theo cả hai tiêu chí (tính toàn vẹn và cách nhiệt) cũng giống như đối với các cửa bản lề được trình bày trong C.2.2 và C.2.3.
Đối với cánh cửa kim loại lắp trong khuôn kim loại, trường hợp bất lợi nhất về tính toàn vẹn là cửa mở ra phía ngoài lò thử nghiệm, hư hỏng về tính toàn vẹn xuất hiện do sự cong vênh của tấm cánh cửa. Song trong trường hợp hư hỏng về tính toàn vẹn gây nên bởi sự nóng chảy của trục xoay, thì điều kiện bất lợi nhất là cửa mở vào phía trong lò (tức là có các trục xoay nằm phía trong lò). Do đó, cần phải tiến hành hai thử nghiệm, một thử nghiệm có cửa mở vào phía trong còn một thử nghiệm có cửa mở ra phía ngoài lò.
Đối với sự hư hỏng về cách nhiệt gây ra bởi các trục xoay nằm ở phía tiếp xúc với lửa dẫn nhiệt ngược trở lại tấm cánh, điều kiện bất lợi nhất là cửa mở vào phía trong lò. Đối với sự hư hỏng về cách nhiệt của các cụm cửa có khuôn bằng kim loại thì nhìn chung trường hợp bất lợi nhất là cửa mở ra phía ngoài lò. Trong cả hai trường hợp trên, loại vật liệu cánh cửa đều không quan trọng.
C.4 Cửa cuốn
C.4.1 Tính toàn vẹn
Có một số điểm cần lưu ý về sự làm việc của các cửa cuốn, ví dụ khả năng tự chịu trọng lượng bản thân của tang cuốn cũng như các bộ phận kết cấu khác và khả năng duy trì trạng thái liên kết của các then khóa trong điều kiện nhiệt độ cao. Hướng tác động của đám cháy có ảnh hưởng không đáng kể hoặc không ảnh hưởng đến khả năng làm việc của các then khóa, nhưng sẽ có ảnh hưởng lớn đến sự làm việc của các bộ phận chịu lực như tang cuốn, trục tang cuốn, gối đỡ, v.v. Đối với các bộ phận này trường hợp bất lợi nhất là chúng được lắp đặt phía trong lò thử nghiệm và chịu tác động trực tiếp của đám cháy. Lúc đó, điều kiện nhiệt độ cao có thể gây ra sự hư hỏng về khả năng chịu lực yêu cầu đối với các bộ phận.
C.4.2 Tính cách nhiệt
Đối với các cửa cuốn được cách nhiệt, cần chú ý rằng cho dù sự làm việc cách nhiệt có thể tương tự như của cửa bản lề, nhưng không có những yếu tố chắc chắn giúp xác định phía làm việc yếu nhất. Bên cạnh đó, thanh dẫn đỡ các chi tiết bằng thép có thể cần phải được bọc cách nhiệt dưới tác động của nguồn nhiệt từ trong lò tỏa ra. Vì vậy, những cửa này cần phải được thử nghiệm cả hai mặt.
C.4.3 Tổng hợp
Để đánh giá một cụm cửa cuốn không cách nhiệt, trường hợp các bộ phận chịu lực như tang cuốn, trục đỡ, v.v nằm ở phía tiếp xúc với lửa là trường hợp bất lợi nhất đối với tiêu chí bền do đó cần có một mẫu được thử nghiệm để kiểm tra trong điều kiện này.
Để đánh giá một cụm cửa chắn không cách nhiệt, cần thực hiện thử nghiệm về tiếp xúc với lửa ở cả hai phía.
C.5 Các loại cửa đi dạng trượt cánh gấp
C.5.1 Nguyên tắc chung
Một số điểm đáng lưu ý về sự làm việc của cửa đi dạng trượt cánh gấp tương tự như cửa cuốn ví dụ như các bộ phận chịu lực khi bị tiếp xúc với lửa. Ngoài ra cũng có một số khía cạnh lại tương tự như của cửa bản lề/xoay quanh trục đứng ví dụ như các cánh cửa có thể bị biến dạng tùy theo chúng được chế tạo từ loại vật liệu nào, hay chúng được liên kết vào khuôn và liên kết với nhau như thế nào.
C.5.2 Tính toàn vẹn
Điều kiện bất lợi nhất khi kiểm tra tính toàn vẹn đó là các bộ phận chịu lực phải chịu tiếp xúc với lửa do đó những bộ phận này phải được lắp đặt nằm vào phía trong lò.
C.5.3 Tính cách nhiệt
Giống như phân tích trong phần C.4 đối với cửa cuốn, càng có nhiều khuôn hoặc các bộ phận khác nằm phía trong lò thì càng có nhiều diện tích lộ ra để hấp thu nhiệt từ đó dẫn truyền sang phía không tiếp xúc với lửa và gây nên sự hư hỏng về điều kiện cách nhiệt. Ngược lại, nếu có ít những bộ phận như vậy nằm phía trong lò để hấp thu nhiệt thì lượng nhiệt truyền ra phía không tiếp xúc với lửa cũng giảm đi. Lập luận về sự phát tán nhiệt trên bề mặt không tiếp xúc với lửa cũng giúp chứng minh rằng thử nghiệm có khuôn cửa và các bộ phận khác nằm ở phía trong lò là nguy hiểm hơn vì nếu ngược lại thì sẽ có nhiều diện tích có thể phát tán nhiệt hơn nằm ở phía không tiếp xúc với lửa.
C.5.4 Tổng hợp
Để đánh giá cửa đi dạng trượt cánh gấp thì thử nghiệm có các bộ phận chịu lực như cơ cấu treo/lăn, v.v nằm ở phía trong lò là bất lợi nhất cho cả yếu tố độ bền và tính cách nhiệt, tuy nhiên cũng không thể đưa ra một kết luận tuyệt đối.
Ví dụ về cửa chắn dạng cuốn (Rolling Shutter)






